- Produktübersicht
- Bohrbuchsen
- Federnde Druckstücke, Arretierbolzen, Kugelsperrbolzen
- Maschinenelemente, Vorrichtungselemente
- Positionierelemente, Anschlagelemente, Auflageelemente
- Klemmhebel, Spannhebel, Exzenterhebel
- Griffe und Knöpfe
- Bügelgriffe
- Handräder, Handkurbeln
- Scharniere
- Stellfüße
- Schnellspanner, Bügelspanner, Schubstangenspanner
- Spannelemente
- Gelenke
- Dämpfungselemente
- Ölschaugläser, Verschlussschrauben, Verschlussstopfen
- Transporttechnik
- Sonderlösungen
- Produktneuheiten
|
|
|
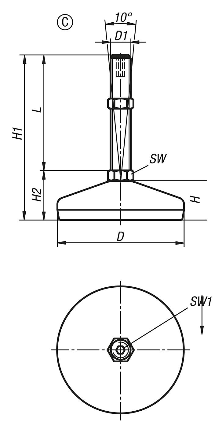
B0372_CStellfüße Stahl oder Edelstahl Form C |
zurück |
|
Artikelbeschreibung/Produktabbildungen |
|
|
BeschreibungWerkstoff:Fußteller, Gewindespindel Stahl oder Edelstahl. Gummiauflage (NBR) 80 Shore.Ausführung:Fußteller und Gewindespindel Stahl, verzinkt. Fußteller Edelstahl, poliert. Gewindespindel Edelstahl, blank. Gummiauflage aufvulkanisiert, schwarz.
Hinweis:Stellfüße aus Stahl oder Edelstahl mit drehbar gelagerter Gewindespindel und Gummi-Aufstellfläche. Die massive Gummiauflage ist durch Aufvulkanisieren fest mit dem Blechteller verbunden. Die Gummiauflage hat eine ausgezeichnete Bodenhaftung. Sie wirkt körperschalldämmend und erschwert die Übertragung von Schwingungen und Stößen auf den Boden.
Die in der Tabelle angegebenen Belastungswerte beruhen auf einer Versuchsreihe, bei der eine statische Last senkrecht zum Teller in der Mitte der Spindel aufgebracht wurde. Radial einwirkende Kräfte, wie sie bei Vibrationen oder anderen Rütteleffekten entstehen, beeinflussen die Belastbarkeit und sind bei den angegebenen Werten nicht berücksichtigt.
Bei Edelstahlfüßen ist ab der Spindelgröße M16 die Schlüsselweite als Zweikant ausgeführt.
Auslieferung mit passender Mutter.Auf Anfrage:Gewindespindel Edelstahl 1.4401. DownloadHier gibt es die Informationen gesammelt als PDF:
Suchen Sie CAD Daten? Diese finden Sie direkt in der Produkttabelle.
|
| Bestellnummer | Form | Material Grundkörper | D | D1 | H | H1 | H2 | SW | SW1 | L | Belastbarkeit max. kN (nur bei statischer Belastung) | CAD | Zub. | Preis | Bestellen |
|---|
| B0372.3105010X50 | C | Stahl | 50 | M10 | 19 | 79 | 29 | 14 | 5 | 50 | 4 |  | | 9,97 € | | | B0372.3105012X50 | C | Stahl | 50 | M12 | 19 | 79 | 29 | 14 | 6 | 50 | 4 |  | | 9,97 € | | | B0372.3105012X100 | C | Stahl | 50 | M12 | 19 | 129 | 29 | 14 | 6 | 100 | 4 |  | | 10,51 € | | | B0372.3105016X75 | C | Stahl | 50 | M16 | 19 | 104 | 29 | 16 | 8 | 75 | 4 |  | | 11,64 € | | | B0372.3105016X100 | C | Stahl | 50 | M16 | 19 | 129 | 29 | 16 | 8 | 100 | 4 |  | | 11,91 € | | | B0372.3105016X150 | C | Stahl | 50 | M16 | 19 | 179 | 29 | 16 | 8 | 150 | 4 |  | | 13,42 € | | | B0372.3106010X50 | C | Stahl | 60 | M10 | 22 | 82 | 32 | 14 | 5 | 50 | 7 |  | | 11,20 € | | | B0372.3106012X50 | C | Stahl | 60 | M12 | 22 | 82 | 32 | 14 | 6 | 50 | 7 |  | | 11,20 € | | | B0372.3106012X100 | C | Stahl | 60 | M12 | 22 | 132 | 32 | 14 | 6 | 100 | 7 |  | | 12,10 € | | | B0372.3106016X75 | C | Stahl | 60 | M16 | 22 | 108 | 33 | 16 | 8 | 75 | 7 |  | | 13,12 € | | | B0372.3106016X100 | C | Stahl | 60 | M16 | 22 | 133 | 33 | 16 | 8 | 100 | 7 |  | | 13,37 € | | | B0372.3106016X150 | C | Stahl | 60 | M16 | 22 | 183 | 33 | 16 | 8 | 150 | 7 |  | | 14,72 € | | | B0372.3108016X100 | C | Stahl | 80 | M16 | 25 | 135 | 35 | 16 | 8 | 100 | 10 |  | | 13,58 € | | | B0372.3108016X150 | C | Stahl | 80 | M16 | 25 | 185 | 35 | 16 | 8 | 150 | 10 |  | | 14,78 € | | | B0372.3108020X75 | C | Stahl | 80 | M20 | 25 | 111 | 36 | 20 | 10 | 75 | 10 |  | | 14,03 € | | | B0372.3110020X100 | C | Stahl | 100 | M20 | 28 | 138,5 | 38,5 | 20 | 10 | 100 | 15 |  | | 15,87 € | | | B0372.3110020X150 | C | Stahl | 100 | M20 | 28 | 188,5 | 38,5 | 20 | 10 | 150 | 15 |  | | 17,32 € | | | B0372.3110024X200 | C | Stahl | 100 | M24 | 28 | 238,5 | 38,5 | 24 | 10 | 200 | 15 |  | | 21,97 € | | | B0372.3112020X100 | C | Stahl | 120 | M20 | 32 | 142,5 | 42,5 | 20 | 10 | 100 | 30 |  | | 23,81 € | | | B0372.3112020X150 | C | Stahl | 120 | M20 | 32 | 192,5 | 42,5 | 20 | 10 | 150 | 30 |  | | 24,79 € | | | B0372.3112020X200 | C | Stahl | 120 | M20 | 32 | 242,5 | 42,5 | 20 | 10 | 200 | 30 |  | | 26,18 € | | | B0372.3112024X100 | C | Stahl | 120 | M24 | 32 | 142,5 | 42,5 | 24 | 10 | 100 | 30 |  | | 25,56 € | | | B0372.3112024X150 | C | Stahl | 120 | M24 | 32 | 192,5 | 42,5 | 24 | 10 | 150 | 30 |  | | 27,37 € | | | B0372.3112024X200 | C | Stahl | 120 | M24 | 32 | 242,5 | 42,5 | 24 | 10 | 200 | 30 |  | | 29,32 € | | | B0372.3112030X100 | C | Stahl | 120 | M30 | 32 | 143,5 | 43,5 | 30 | 10 | 100 | 30 |  | | 28,75 € | | | B0372.3112030X150 | C | Stahl | 120 | M30 | 32 | 193,5 | 43,5 | 30 | 10 | 150 | 30 |  | | 29,87 € | | | B0372.3112030X200 | C | Stahl | 120 | M30 | 32 | 243,5 | 43,5 | 30 | 10 | 200 | 30 |  | | 33,58 € | | | B0372.3205010X50 | C | Edelstahl | 50 | M10 | 19 | 79 | 29 | 14 | 5 | 50 | 4 |  | | 11,77 € | | | B0372.3205012X50 | C | Edelstahl | 50 | M12 | 19 | 79 | 29 | 14 | 6 | 50 | 4 |  | | 11,77 € | | | B0372.3205012X100 | C | Edelstahl | 50 | M12 | 19 | 129 | 29 | 14 | 6 | 100 | 4 |  | | 12,88 € | | | B0372.3205016X75 | C | Edelstahl | 50 | M16 | 19 | 104 | 29 | 13 | 8 | 75 | 4 |  | | 13,89 € | | | B0372.3205016X100 | C | Edelstahl | 50 | M16 | 19 | 129 | 29 | 13 | 8 | 100 | 4 |  | | 14,33 € | | | B0372.3205016X150 | C | Edelstahl | 50 | M16 | 19 | 179 | 29 | 13 | 8 | 150 | 4 |  | | 15,43 € | | | B0372.3205016X200 | C | Edelstahl | 50 | M16 | 19 | 229 | 29 | 13 | 8 | 200 | 4 |  | | 16,71 € | | | B0372.3206010X50 | C | Edelstahl | 60 | M10 | 22 | 82 | 32 | 14 | 5 | 50 | 7 |  | | 15,04 € | | | B0372.3206012X50 | C | Edelstahl | 60 | M12 | 22 | 82 | 32 | 14 | 6 | 50 | 7 |  | | 15,04 € | | | B0372.3206012X100 | C | Edelstahl | 60 | M12 | 22 | 132 | 32 | 14 | 6 | 100 | 7 |  | | 16,18 € | | | B0372.3206016X75 | C | Edelstahl | 60 | M16 | 22 | 108 | 33 | 13 | 8 | 75 | 7 |  | | 15,20 € | | | B0372.3206016X100 | C | Edelstahl | 60 | M16 | 22 | 133 | 33 | 13 | 8 | 100 | 7 |  | | 15,72 € | | | B0372.3206016X150 | C | Edelstahl | 60 | M16 | 22 | 183 | 33 | 13 | 8 | 150 | 7 |  | | 16,69 € | | | B0372.3206016X200 | C | Edelstahl | 60 | M16 | 22 | 233 | 33 | 13 | 8 | 200 | 7 |  | | 17,85 € | | | B0372.3208016X75 | C | Edelstahl | 80 | M16 | 25 | 110 | 35 | 13 | 8 | 75 | 10 |  | | 25,06 € | | | B0372.3208016X100 | C | Edelstahl | 80 | M16 | 25 | 135 | 35 | 13 | 8 | 100 | 10 |  | | 26,10 € | | | B0372.3208016X125 | C | Edelstahl | 80 | M16 | 25 | 160 | 35 | 13 | 8 | 125 | 10 |  | | 26,80 € | | | B0372.3208016X150 | C | Edelstahl | 80 | M16 | 25 | 185 | 35 | 13 | 8 | 150 | 10 |  | | 27,53 € | | | B0372.3208016X175 | C | Edelstahl | 80 | M16 | 25 | 210 | 35 | 13 | 8 | 175 | 10 |  | | 28,58 € | | | B0372.3208020X75 | C | Edelstahl | 80 | M20 | 25 | 113 | 38 | 17 | 10 | 75 | 10 |  | | 27,46 € | | | B0372.3208020X200 | C | Edelstahl | 80 | M20 | 25 | 238 | 38 | 17 | 10 | 200 | 10 |  | | 33,59 € | | | B0372.3210020X150 | C | Edelstahl | 100 | M20 | 30 | 193 | 43 | 17 | 10 | 150 | 15 |  | | 35,14 € | | | B0372.3212020X100 | C | Edelstahl | 120 | M20 | 32 | 143 | 43 | 17 | 10 | 100 | 30 |  | | 46,38 € | | | B0372.3212020X150 | C | Edelstahl | 120 | M20 | 32 | 194 | 44 | 17 | 10 | 150 | 30 |  | | 48,28 € | | | B0372.3212020X200 | C | Edelstahl | 120 | M20 | 32 | 244 | 44 | 17 | 10 | 200 | 30 |  | | 50,69 € | | | B0372.3212024X100 | C | Edelstahl | 120 | M24 | 32 | 145 | 45 | 20 | 10 | 100 | 30 |  | | 50,29 € | | | B0372.3212024X150 | C | Edelstahl | 120 | M24 | 32 | 195 | 45 | 20 | 10 | 150 | 30 |  | | 53,66 € | | | B0372.3212024X200 | C | Edelstahl | 120 | M24 | 32 | 245 | 45 | 20 | 10 | 200 | 30 |  | | 56,45 € | | | B0372.3212030X100 | C | Edelstahl | 120 | M30 | 32 | 147 | 47 | 26 | 10 | 100 | 30 |  | | 55,22 € | | | B0372.3212030X150 | C | Edelstahl | 120 | M30 | 32 | 197 | 47 | 26 | 10 | 150 | 30 |  | | 60,56 € | | | B0372.3212030X200 | C | Edelstahl | 120 | M30 | 32 | 247 | 47 | 26 | 10 | 200 | 30 |  | | 65,18 € | |
Weitere Artikel dieser Kategorie |
|
|