Product groups
Premium - Indexing plungers, steel or stainless steel with plastic mushroom grip and tapered indexing pin
B0057

Premium - Indexing plungers, steel or stainless steel with...

go back

Item description/product images

Show/filter all items
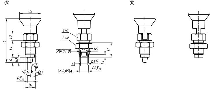
DescriptionProduct description:Indexing plungers are used where any change in locking position due to lateral forces should be prevented. A new indexed position can be only be moved to after the pin has been manually retracted. Form D is recommended for applications where the indexing pin should remain disengaged for an extended period and be prevented from springing back.

Premium indexing plungers are characterised by higher manufacturing demands of the indexing plunger and the threaded sleeve. In addition, a centring locator has been added to the threaded sleeve, which can be used to increase positioning accuracy.
Material:

Steel version:
Threaded sleeve and indexing pin free-cutting steel.

Stainless steel version:
Threaded sleeve 1.4305.
Indexing pin 1.4034.

Mushroom grip thermoplastic.

Version:Steel version:
Threaded sleeve black oxidised.
Indexing pin hardened, ground and black oxidised.
Stainless steel version:
Threaded sleeve bright.
Indexing pin hardened and ground, bright.

Mushroom grip black grey RAL7021.
Note:When high lateral forces are to be expected, the centring locator should be used.Assembly:When using the threaded sleeve centring, it is recommended the receiving reamed hole be machined before tapping.
The conical contact surface is aligned by the threaded sleeve and locking nut.
On request:Special versions.Accessory:Matching tapered bush B0058.
Spacer ring B0064.
Drawing reference:
Form B: non-lockout type, with locknut
Form D: lockout type, with locknut
Special features:
RoHS
DownloadHere is all the information as a PDF datasheet:

Are you looking for CAD data? These can be found directly in the product table.
 Datasheet B0057 Premium - Indexing plungers, steel or stainless steel with plastic mushroom grip and tapered indexing pin 238 kB

Drawings (total overview)

Premium - Indexing plungers, steel or stainless steel with plastic mushroom grip and tapered indexing pin

Premium - Indexing plungers, steel or stainless steel with plastic mushroom grip, tapered indexing pin and locknut

More information

Drawings

Premium - Indexing plungers, steel or stainless steel with plastic mushroom grip, tapered indexing pin and locknut

Item selection/filter

Order No.FormMain
material
DD1D2D3D4D5LL1L2L3L4H2Travel
S
SW1SW2Spring force
initial pressure
F1 approx. N
Spring force
final pressure
F2 approx. N
CADAcc.PriceOrder
B0057.52105Bsteel5M10x121866 -0,01/-0,0243,5177153451317512  17.38 €
B0057.52206Bsteel6M12x1,525108,58,5 -0,01/-0,0351,7208173561419614  19.30 €
B0057.52308Bsteel8M16x1,53313,51111 -0,01/-0,036826102347819241535  25.69 €
B0057.52410Bsteel10M20x1,533171111 -0,01/-0,0374281225491022301534  33.63 €
B0057.502105Bstainless steel5M10x121866 -0,01/-0,0243,5177153451317512  26.06 €
B0057.502206Bstainless steel6M12x1,525108,58,5 -0,01/-0,0351,7208173561419614  28.95 €
B0057.502308Bstainless steel8M16x1,53313,51111 -0,01/-0,036826102347819241535  37.24 €
B0057.502410Bstainless steel10M20x1,533171111 -0,01/-0,0374281225491022301534  48.77 €

Premium - Indexing plungers, steel or stainless steel with plastic mushroom grip, tapered indexing pin, locking slot and locknut

More information

Drawings

Premium - Indexing plungers, steel or stainless steel with plastic mushroom grip, tapered indexing pin, locking slot and locknut

Item selection/filter

Order No.FormMain
material
DD1D2D3D4D5LL1L2L3L4H2Travel
S
SW1SW2Spring force
initial pressure
F1 approx. N
Spring force
final pressure
F2 approx. N
CADAcc.PriceOrder
B0057.54105Dsteel5M10x121866 -0,01/-0,0243,5177153451317512 19.18 €
B0057.54206Dsteel6M12x1,525108,58,5 -0,01/-0,0351,7208173561419614 21.13 €
B0057.54308Dsteel8M16x1,53313,51111 -0,01/-0,036826102347819241535 27.49 €
B0057.54410Dsteel10M20x1,533171111 -0,01/-0,0374281225491022301534 35.45 €
B0057.504105Dstainless steel5M10x121866 -0,01/-0,0243,5177153451317512 27.86 €
B0057.504206Dstainless steel6M12x1,525108,58,5 -0,01/-0,0351,7208173561419614 30.76 €
B0057.504308Dstainless steel8M16x1,53313,51111 -0,01/-0,036826102347819241535 39.06 €
B0057.504410Dstainless steel10M20x1,533171111 -0,01/-0,0374281225491022301534 50.59 €
Search
Shopping cart
Number of items: 0
Amount: 0.00  
Display
Speed ordering
Germany
Sitemap Print Top
Copyright © 2025 NORMTEILWERK ROBERT BLOHM GmbH. All rights reserved. Tel. +49 (0) 41 55 / 80 08-0 · Fax +49 (0) 41 55 / 81 11 31