Product groups
Premium - Indexing plungers, steel or stainless steel with plastic mushroom grip and cylindrical indexing pin
B0055

Premium - Indexing plungers, steel or stainless steel with...

go back

Item description/product images

Show/filter all items
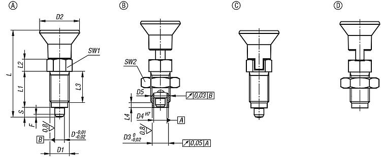
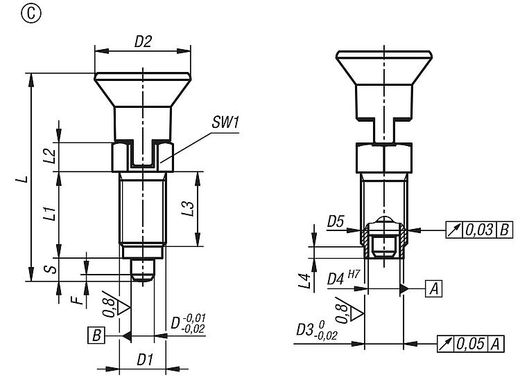
DescriptionProduct description:Indexing plungers are used where any change in locking position due to lateral forces should be prevented. A new indexed position can be only be moved to after the pin has been manually retracted. Form C and D are recommended for applications where the indexing pin should remain disengaged for an extended period and be prevented from springing back.

Premium indexing plungers are characterised by higher manufacturing demands of the indexing plunger and the threaded sleeve. In addition, a centring locator has been added to the threaded sleeve, which can be used to increase positioning accuracy.
Material:

Steel version:
Threaded sleeve and indexing pin free-cutting steel.

Stainless steel version:
Threaded sleeve 1.4305.
Indexing pin 1.4034.

Mushroom grip thermoplastic.

Version:Steel version:
Threaded sleeve black oxidised.
Indexing pin hardened, ground and black oxidised.
Stainless steel version:
Threaded sleeve bright.
Indexing pin hardened and ground, bright.

Mushroom grip black grey RAL7021.
Note:When high lateral forces are to be expected, the centring locator should be used.Assembly:When using the threaded sleeve centring, it is recommended the receiving reamed hole be machined before tapping.On request:Special versions.Accessory:Matching cylindrical bush B0055, B0056, B0057, B0058.
Locknut B0100….
Drawing reference:
Form A: non-lockout type, without locknut
Form B: non-lockout type, with locknut
Form C: lockout type, without locknut
Form D: lockout type, with locknut
Special features:
RoHS
DownloadHere is all the information as a PDF datasheet:

Are you looking for CAD data? These can be found directly in the product table.
 Datasheet B0055 Premium - Indexing plungers, steel or stainless steel with plastic mushroom grip and cylindrical indexing pin 284 kB

Drawings (total overview)

Premium - Indexing plungers, steel or stainless steel with plastic mushroom grip and cylindrical indexing pin

Premium indexing plungers, steel or stainless steel with plastic mushroom grip, cylindrical indexing pin, no locking slot or locknut

More information

Drawings

Premium indexing plungers, steel or stainless steel with plastic mushroom grip, cylindrical indexing pin, no locking slot or locknut

Item selection/filter

Order No.FormMain
material
DD1D2D3D4D5LL1L2L3L4Travel
S
SW1Fx30°Spring force
initial pressure
F1 approx. N
Spring force
final pressure
F2 approx. N
CADAcc.PriceOrder
B0055.41105Asteel5M10x121866 -0,01/-0,0243,51771535131,3512  16.85 €
B0055.41206Asteel6M12x1,525108,58,5 -0,01/-0,0351,72081736141,8614  18.72 €
B0055.41308Asteel8M16x1,53313,51111 -0,01/-0,036826102348192,31535  24.10 €
B0055.41410Asteel10M20x1,533171111 -0,01/-0,0374281225410222,81534  32.09 €
B0055.401105Astainless steel5M10x121866 -0,01/-0,0243,51771535131,3512  25.28 €
B0055.401206Astainless steel6M12x1,525108,58,5 -0,01/-0,0351,72081736141,8614  28.08 €
B0055.401308Astainless steel8M16x1,53313,51111 -0,01/-0,036826102348192,31535  34.94 €
B0055.401410Astainless steel10M20x1,533171111 -0,01/-0,0374281225410222,81534  46.53 €

Premium - Indexing plungers, steel or stainless steel with plastic mushroom grip, cylindrical indexing pin and locknut

More information

Drawings

Premium - Indexing plungers, steel or stainless steel with plastic mushroom grip, cylindrical indexing pin and locknut

Item selection/filter

Order No.FormMain
material
DD1D2D3D4D5LL1L2L3L4Travel
S
SW1SW2Fx30°Spring force
initial pressure
F1 approx. N
Spring force
final pressure
F2 approx. N
CADAcc.PriceOrder
B0055.42105Bsteel5M10x121866 -0,01/-0,0243,5177153513171,3512 17.01 €
B0055.42206Bsteel6M12x1,525108,58,5 -0,01/-0,0351,7208173614191,8614 18.84 €
B0055.42308Bsteel8M16x1,53313,51111 -0,01/-0,03682610234819242,31535 24.23 €
B0055.42410Bsteel10M20x1,533171111 -0,01/-0,037428122541022302,81534 32.23 €
B0055.402105Bstainless steel5M10x121866 -0,01/-0,0243,5177153513171,3512 25.42 €
B0055.402206Bstainless steel6M12x1,525108,58,5 -0,01/-0,0351,7208173614191,8614 28.19 €
B0055.402308Bstainless steel8M16x1,53313,51111 -0,01/-0,03682610234819242,31535 35.09 €
B0055.402410Bstainless steel10M20x1,533171111 -0,01/-0,037428122541022302,81534 46.68 €

Premium - Indexing plungers, steel or stainless steel with plastic mushroom grip, cylindrical indexing pin and locking slot

More information

Drawings

Premium - Indexing plungers, steel or stainless steel with plastic mushroom grip, cylindrical indexing pin and locking slot

Item selection/filter

Order No.FormMain
material
DD1D2D3D4D5LL1L2L3L4Travel
S
SW1Fx30°Spring force
initial pressure
F1 approx. N
Spring force
final pressure
F2 approx. N
CADAcc.PriceOrder
B0055.43105Csteel5M10x121866 -0,01/-0,0243,51771535131,3512 18.55 €
B0055.43206Csteel6M12x1,525108,58,5 -0,01/-0,0351,72081736141,8614 20.40 €
B0055.43308Csteel8M16x1,53313,51111 -0,01/-0,036826102348192,31535 25.79 €
B0055.43410Csteel10M20x1,533171111 -0,01/-0,0374281225410222,81534 33.78 €
B0055.403105Cstainless steel5M10x121866 -0,01/-0,0243,51771535131,3512 26.98 €
B0055.403206Cstainless steel6M12x1,525108,58,5 -0,01/-0,0351,72081736141,8614 29.74 €
B0055.403308Cstainless steel8M16x1,53313,51111 -0,01/-0,036826102348192,31535 36.64 €
B0055.403410Cstainless steel10M20x1,533171111 -0,01/-0,0374281225410222,81534 48.22 €

Premium - Indexing plungers, steel or stainless steel with plastic mushroom grip, cylindrical indexing pin, locking slot and locknut

More information

Drawings

Premium - Indexing plungers, steel or stainless steel with plastic mushroom grip, cylindrical indexing pin, locking slot and locknut

Item selection/filter

Order No.FormMain
material
DD1D2D3D4D5LL1L2L3L4Travel
S
SW1SW2Fx30°Spring force
initial pressure
F1 approx. N
Spring force
final pressure
F2 approx. N
CADAcc.PriceOrder
B0055.44105Dsteel5M10x121866 -0,01/-0,0243,5177153513171,3512 18.67 €
B0055.44206Dsteel6M12x1,525108,58,5 -0,01/-0,0351,7208173614191,8614 20.54 €
B0055.44308Dsteel8M16x1,53313,51111 -0,01/-0,03682610234819242,31535 25.91 €
B0055.44410Dsteel10M20x1,533171111 -0,01/-0,037428122541022302,81534 33.91 €
B0055.404105Dstainless steel5M10x121866 -0,01/-0,0243,5177153513171,3512 27.09 €
B0055.404206Dstainless steel6M12x1,525108,58,5 -0,01/-0,0351,7208173614191,8614 29.90 €
B0055.404308Dstainless steel8M16x1,53313,51111 -0,01/-0,03682610234819242,31535 36.76 €
B0055.404410Dstainless steel10M20x1,533171111 -0,01/-0,037428122541022302,81534 48.35 €
Search
Shopping cart
Number of items: 0
Amount: 0.00  
Display
Speed ordering
Germany
Sitemap Print Top
Copyright © 2025 NORMTEILWERK ROBERT BLOHM GmbH. All rights reserved. Tel. +49 (0) 41 55 / 80 08-0 · Fax +49 (0) 41 55 / 81 11 31