Warengruppen

Artikelbeschreibung/Produktabbildungen

Alle Artikel aufrufen/filtern
BeschreibungProduktbeschreibung:Sperrriegel werden dort eingesetzt, wo eine Veränderung der Arretierstellung durch Querkräfte verhindert werden soll. Durch Drehen des Riegels um 180° wird der Arretierstift eingezogen, somit kann die Arretierstellung verändert werden. Die Rastkerbe bewirkt, dass der Riegel in dieser Stellung gehalten wird und damit der Arretierstift eingezogen bleibt.Werkstoff:Riegel 1.0503.
Gewindehülse und Arretierstift Automatenstahl.
Druckfeder 1.4310.
Riegelkappe Thermoplast PA.
Ausführung:Gewindehülse und Riegel brüniert.
Arretierstift gehärtet, geschliffen und brüniert.
Druckfeder blank.
Riegelkappe in verschiedenen Farben:
- schwarzgrau RAL7021
- reinorange RAL 2004
- rapsgelb RAL 1021
- verkehrsrot RAL 3020
- signalgrün RAL 6032
- verkehrsblau RAL 5017
- lichtgrau RAL 7035
Vorteile:Durch Drehen des Riegels um 180° wird der Arretierstift eingezogen.
Wahlweise mit farbigen Riegelkappen aus Kunststoff.
Montage über des Außengewinde.
Auf Anfrage:Sonderausführungen.
Zubehör:Haltestücke B0065.
Positionierbuchse B0063.
Zeichnungshinweis:
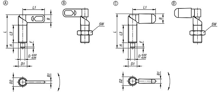
Form A: ohne Riegelkappe, ohne Kontermutter
Form B: ohne Riegelkappe, mit Kontermutter
Form C: mit Riegelkappe, ohne Kontermutter
Form D: mit Riegelkappe, mit Kontermutter
Besonderheiten:
RoHS
DownloadHier gibt es die Informationen gesammelt als PDF:

Suchen Sie CAD Daten? Diese finden Sie direkt in der Produkttabelle.
 Datenblatt B0531 Sperrriegel 271 kB

Zeichnungen (Gesamtübersicht)

Sperrriegel

Sperrriegel, Form A, ohne Riegelkappe, ohne Mutter

mehr Info

Zeichnungen

Sperrriegel, Form A, ohne Riegelkappe, ohne Mutter

Artikelauswahl/-filter

BestellnummerFormDD1D2LL1L3BB1HF x 30°Federkraft
Anfang
F1 ca. N
Federkraft
Ende
F2 ca. N
CADZub.PreisBestellen
B0531.040410A4M101038,525209361814 11,19 €
B0531.0404101A4M10x11038,525209361814 11,19 €
B0531.040510A5M101038,525209361,3814 11,19 €
B0531.0405101A5M10x11038,525209361,3814 11,19 €
B0531.040610A6M101038,525209361,8814 11,19 €
B0531.0406101A6M10x11038,525209361,8814 11,19 €
B0531.040512A5M121247,4302510,83,681,3815 11,35 €
B0531.0405121A5M12x1,51247,4302510,83,681,3815 11,35 €
B0531.040612A6M121247,4302510,83,681,8815 11,35 €
B0531.0406121A6M12x1,51247,4302510,83,681,8815 11,35 €
B0531.040812A8M121247,4302510,83,682,3815 11,35 €
B0531.0408121A8M12x1,51247,4302510,83,682,3815 11,35 €
B0531.040616A6M161661,2403214,44,8101,81535 13,62 €
B0531.0406161A6M16x1,51661,2403214,44,8101,81535 13,62 €
B0531.040816A8M161661,2403214,44,8102,31535 13,62 €
B0531.0408161A8M16x1,51661,2403214,44,8102,31535 13,62 €
B0531.041016A10M161661,2403214,44,8102,81535 13,62 €
B0531.0410161A10M16x1,51661,2403214,44,8102,81535 13,62 €
B0531.040820A8M2020715035186122,32060 15,14 €
B0531.0408201A8M20x1,520715035186122,32060 15,14 €
B0531.041020A10M2020715035186122,82060 15,14 €
B0531.0410201A10M20x1,520715035186122,82060 15,14 €
B0531.041220A12M20207150351861232060 15,14 €
B0531.0412201A12M20x1,5207150351861232060 15,14 €

Sperrriegel, Form B, ohne Riegelkappe, mit Mutter

mehr Info

Zeichnungen

Sperrriegel, Form B, ohne Riegelkappe, mit Mutter

Artikelauswahl/-filter

BestellnummerFormDD1D2LL1L3BB1HSWF x 30°Federkraft
Anfang
F1 ca. N
Federkraft
Ende
F2 ca. N
CADZub.PreisBestellen
B0531.050410B4M101038,52520936171814 11,30 €
B0531.0504101B4M10x11038,52520936171814 11,30 €
B0531.050510B5M101038,52520936171,3814 11,30 €
B0531.0505101B5M10x11038,52520936171,3814 11,30 €
B0531.050610B6M101038,52520936171,8814 11,30 €
B0531.0506101B6M10x11038,52520936171,8814 11,30 €
B0531.050512B5M121247,4302510,83,68191,3815 11,43 €
B0531.0505121B5M12x1,51247,4302510,83,68191,3815 11,43 €
B0531.050612B6M121247,4302510,83,68191,8815 11,43 €
B0531.0506121B6M12x1,51247,4302510,83,68191,8815 11,43 €
B0531.050812B8M121247,4302510,83,68192,3815 11,43 €
B0531.0508121B8M12x1,51247,4302510,83,68192,3815 11,43 €
B0531.050616B6M161661,2403214,44,810241,81535 13,77 €
B0531.0506161B6M16x1,51661,2403214,44,810241,81535 13,77 €
B0531.050816B8M161661,2403214,44,810242,31535 13,77 €
B0531.0508161B8M16x1,51661,2403214,44,810242,31535 13,77 €
B0531.051016B10M161661,2403214,44,810242,81535 13,77 €
B0531.0510161B10M16x1,51661,2403214,44,810242,81535 13,77 €
B0531.050820B8M202071503518612302,32060 15,84 €
B0531.0508201B8M20x1,52071503518612302,32060 15,84 €
B0531.051020B10M202071503518612302,82060 15,84 €
B0531.0510201B10M20x1,52071503518612302,82060 15,84 €
B0531.051220B12M2020715035186123032060 15,84 €
B0531.0512201B12M20x1,520715035186123032060 15,84 €

Sperrriegel, Form C, mit Riegelkappe, ohne Mutter

mehr Info

Zeichnungen

Sperrriegel, Form C, mit Riegelkappe, ohne Mutter

Artikelauswahl/-filter

BestellnummerFormFarbe
Komponente
DD1D2LL1L3BB1HF x 30°Federkraft
Anfang
F1 ca. N
Federkraft
Ende
F2 ca. N
CADZub.PreisBestellen
B0531.060410Cschwarzgrau RAL 70214M101039,526,32010,94,961814 11,63 €
B0531.0604101Cschwarzgrau RAL 70214M10x11039,526,32010,94,961814 11,63 €
B0531.060510Cschwarzgrau RAL 70215M101039,526,32010,94,961,3814 11,63 €
B0531.0605101Cschwarzgrau RAL 70215M10x11039,526,32010,94,961,3814 11,63 €
B0531.060610Cschwarzgrau RAL 70216M101039,526,32010,94,961,8814 11,63 €
B0531.0606101Cschwarzgrau RAL 70216M10x11039,526,32010,94,961,8814 11,63 €
B0531.060512Cschwarzgrau RAL 70215M121248,431,12512,95,781,3815 11,87 €
B0531.0605121Cschwarzgrau RAL 70215M12x1,51248,431,12512,95,781,3815 11,87 €
B0531.060612Cschwarzgrau RAL 70216M121248,431,12512,95,781,8815 11,87 €
B0531.0606121Cschwarzgrau RAL 70216M12x1,51248,431,12512,95,781,8815 11,87 €
B0531.060812Cschwarzgrau RAL 70218M121248,431,12512,95,782,3815 11,87 €
B0531.0608121Cschwarzgrau RAL 70218M12x1,51248,431,12512,95,782,3815 11,87 €
B0531.060616Cschwarzgrau RAL 70216M161662,341,53216,67101,81535 14,19 €
B0531.0606161Cschwarzgrau RAL 70216M16x1,51662,341,53216,67101,81535 14,19 €
B0531.060816Cschwarzgrau RAL 70218M161662,341,53216,67102,31535 14,19 €
B0531.0608161Cschwarzgrau RAL 70218M16x1,51662,341,53216,67102,31535 14,19 €
B0531.061016Cschwarzgrau RAL 702110M161662,341,53216,67102,81535 14,19 €
B0531.0610161Cschwarzgrau RAL 702110M16x1,51662,341,53216,67102,81535 14,19 €
B0531.060820Cschwarzgrau RAL 70218M202072,351,33520,58,5122,32060 16,08 €
B0531.0608201Cschwarzgrau RAL 70218M20x1,52072,351,33520,58,5122,32060 16,08 €
B0531.061020Cschwarzgrau RAL 702110M202072,351,33520,58,5122,82060 16,08 €
B0531.0610201Cschwarzgrau RAL 702110M20x1,52072,351,33520,58,5122,82060 16,08 €
B0531.061220Cschwarzgrau RAL 702112M202072,351,33520,58,51232060 16,08 €
B0531.0612201Cschwarzgrau RAL 702112M20x1,52072,351,33520,58,51232060 16,08 €
B0531.0604102Creinorange RAL 20044M101039,526,32010,94,961814 11,63 €
B0531.06041012Creinorange RAL 20044M10x11039,526,32010,94,961814 11,63 €
B0531.0605102Creinorange RAL 20045M101039,526,32010,94,961,3814 11,63 €
B0531.06051012Creinorange RAL 20045M10x11039,526,32010,94,961,3814 11,63 €
B0531.0606102Creinorange RAL 20046M101039,526,32010,94,961,8814 11,63 €
B0531.06061012Creinorange RAL 20046M10x11039,526,32010,94,961,8814 11,63 €
B0531.0605122Creinorange RAL 20045M121248,431,12512,95,781,3815 11,87 €
B0531.06051212Creinorange RAL 20045M12x1,51248,431,12512,95,781,3815 11,87 €
B0531.0606122Creinorange RAL 20046M121248,431,12512,95,781,8815 11,87 €
B0531.06061212Creinorange RAL 20046M12x1,51248,431,12512,95,781,8815 11,87 €
B0531.0608122Creinorange RAL 20048M121248,431,12512,95,782,3815 11,87 €
B0531.06081212Creinorange RAL 20048M12x1,51248,431,12512,95,782,3815 11,87 €
B0531.0606162Creinorange RAL 20046M161662,341,53216,67101,81535 14,19 €
B0531.06061612Creinorange RAL 20046M16x1,51662,341,53216,67101,81535 14,19 €
B0531.0608162Creinorange RAL 20048M161662,341,53216,67102,31535 14,19 €
B0531.06081612Creinorange RAL 20048M16x1,51662,341,53216,67102,31535 14,19 €
B0531.0610162Creinorange RAL 200410M161662,341,53216,67102,81535 14,19 €
B0531.06101612Creinorange RAL 200410M16x1,51662,341,53216,67102,81535 14,19 €
B0531.0608202Creinorange RAL 20048M202072,351,33520,58,5122,32060 16,08 €
B0531.06082012Creinorange RAL 20048M20x1,52072,351,33520,58,5122,32060 16,08 €
B0531.0610202Creinorange RAL 200410M202072,351,33520,58,5122,82060 16,08 €
B0531.06102012Creinorange RAL 200410M20x1,52072,351,33520,58,5122,82060 16,08 €
B0531.0612202Creinorange RAL 200412M202072,351,33520,58,51232060 16,08 €
B0531.06122012Creinorange RAL 200412M20x1,52072,351,33520,58,51232060 16,08 €
B0531.06041016Crapsgelb RAL 10214M101039,526,32010,94,961814 11,63 €
B0531.060410116Crapsgelb RAL 10214M10x11039,526,32010,94,961814 11,63 €
B0531.06051016Crapsgelb RAL 10215M101039,526,32010,94,961,3814 11,63 €
B0531.060510116Crapsgelb RAL 10215M10x11039,526,32010,94,961,3814 11,63 €
B0531.06061016Crapsgelb RAL 10216M101039,526,32010,94,961,8814 11,63 €
B0531.060610116Crapsgelb RAL 10216M10x11039,526,32010,94,961,8814 11,63 €
B0531.06051216Crapsgelb RAL 10215M121248,431,12512,95,781,3815 11,87 €
B0531.060512116Crapsgelb RAL 10215M12x1,51248,431,12512,95,781,3815 11,87 €
B0531.06061216Crapsgelb RAL 10216M121248,431,12512,95,781,8815 11,87 €
B0531.060612116Crapsgelb RAL 10216M12x1,51248,431,12512,95,781,8815 11,87 €
B0531.06081216Crapsgelb RAL 10218M121248,431,12512,95,782,3815 11,87 €
B0531.060812116Crapsgelb RAL 10218M12x1,51248,431,12512,95,782,3815 11,87 €
B0531.06061616Crapsgelb RAL 10216M161662,341,53216,67101,81535 14,19 €
B0531.060616116Crapsgelb RAL 10216M16x1,51662,341,53216,67101,81535 14,19 €
B0531.06081616Crapsgelb RAL 10218M161662,341,53216,67102,31535 14,19 €
B0531.060816116Crapsgelb RAL 10218M16x1,51662,341,53216,67102,31535 14,19 €
B0531.06101616Crapsgelb RAL 102110M161662,341,53216,67102,81535 14,19 €
B0531.061016116Crapsgelb RAL 102110M16x1,51662,341,53216,67102,81535 14,19 €
B0531.06082016Crapsgelb RAL 10218M202072,351,33520,58,5122,32060 16,08 €
B0531.060820116Crapsgelb RAL 10218M20x1,52072,351,33520,58,5122,32060 16,08 €
B0531.06102016Crapsgelb RAL 102110M202072,351,33520,58,5122,82060 16,08 €
B0531.061020116Crapsgelb RAL 102110M20x1,52072,351,33520,58,5122,82060 16,08 €
B0531.06122016Crapsgelb RAL 102112M202072,351,33520,58,51232060 16,08 €
B0531.061220116Crapsgelb RAL 102112M20x1,52072,351,33520,58,51232060 16,08 €
B0531.06041084Cverkehrsrot RAL 30204M101039,526,32010,94,961814 11,63 €
B0531.060410184Cverkehrsrot RAL 30204M10x11039,526,32010,94,961814 11,63 €
B0531.06051084Cverkehrsrot RAL 30205M101039,526,32010,94,961,3814 11,63 €
B0531.060510184Cverkehrsrot RAL 30205M10x11039,526,32010,94,961,3814 11,63 €
B0531.06061084Cverkehrsrot RAL 30206M101039,526,32010,94,961,8814 11,63 €
B0531.060610184Cverkehrsrot RAL 30206M10x11039,526,32010,94,961,8814 11,63 €
B0531.06051284Cverkehrsrot RAL 30205M121248,431,12512,95,781,3815 11,87 €
B0531.060512184Cverkehrsrot RAL 30205M12x1,51248,431,12512,95,781,3815 11,87 €
B0531.06061284Cverkehrsrot RAL 30206M121248,431,12512,95,781,8815 11,87 €
B0531.060612184Cverkehrsrot RAL 30206M12x1,51248,431,12512,95,781,8815 11,87 €
B0531.06081284Cverkehrsrot RAL 30208M121248,431,12512,95,782,3815 11,87 €
B0531.060812184Cverkehrsrot RAL 30208M12x1,51248,431,12512,95,782,3815 11,87 €
B0531.06061684Cverkehrsrot RAL 30206M161662,341,53216,67101,81535 14,19 €
B0531.060616184Cverkehrsrot RAL 30206M16x1,51662,341,53216,67101,81535 14,19 €
B0531.06081684Cverkehrsrot RAL 30208M161662,341,53216,67102,31535 14,19 €
B0531.060816184Cverkehrsrot RAL 30208M16x1,51662,341,53216,67102,31535 14,19 €
B0531.06101684Cverkehrsrot RAL 302010M161662,341,53216,67102,81535 14,19 €
B0531.061016184Cverkehrsrot RAL 302010M16x1,51662,341,53216,67102,81535 14,19 €
B0531.06082084Cverkehrsrot RAL 30208M202072,351,33520,58,5122,32060 16,08 €
B0531.060820184Cverkehrsrot RAL 30208M20x1,52072,351,33520,58,5122,32060 16,08 €
B0531.06102084Cverkehrsrot RAL 302010M202072,351,33520,58,5122,82060 16,08 €
B0531.061020184Cverkehrsrot RAL 302010M20x1,52072,351,33520,58,5122,82060 16,08 €
B0531.06122084Cverkehrsrot RAL 302012M202072,351,33520,58,51232060 16,08 €
B0531.061220184Cverkehrsrot RAL 302012M20x1,52072,351,33520,58,51232060 16,08 €
B0531.06041086Csignalgrün RAL 60324M101039,526,32010,94,961814 11,63 €
B0531.060410186Csignalgrün RAL 60324M10x11039,526,32010,94,961814 11,63 €
B0531.06051086Csignalgrün RAL 60325M101039,526,32010,94,961,3814 11,63 €
B0531.060510186Csignalgrün RAL 60325M10x11039,526,32010,94,961,3814 11,63 €
B0531.06061086Csignalgrün RAL 60326M101039,526,32010,94,961,8814 11,63 €
B0531.060610186Csignalgrün RAL 60326M10x11039,526,32010,94,961,8814 11,63 €
B0531.06051286Csignalgrün RAL 60325M121248,431,12512,95,781,3815 11,87 €
B0531.060512186Csignalgrün RAL 60325M12x1,51248,431,12512,95,781,3815 11,87 €
B0531.06061286Csignalgrün RAL 60326M121248,431,12512,95,781,8815 11,87 €
B0531.060612186Csignalgrün RAL 60326M12x1,51248,431,12512,95,781,8815 11,87 €
B0531.06081286Csignalgrün RAL 60328M121248,431,12512,95,782,3815 11,87 €
B0531.060812186Csignalgrün RAL 60328M12x1,51248,431,12512,95,782,3815 11,87 €
B0531.06061686Csignalgrün RAL 60326M161662,341,53216,67101,81535 14,19 €
B0531.060616186Csignalgrün RAL 60326M16x1,51662,341,53216,67101,81535 14,19 €
B0531.06081686Csignalgrün RAL 60328M161662,341,53216,67102,31535 14,19 €
B0531.060816186Csignalgrün RAL 60328M16x1,51662,341,53216,67102,31535 14,19 €
B0531.06101686Csignalgrün RAL 603210M161662,341,53216,67102,81535 14,19 €
B0531.061016186Csignalgrün RAL 603210M16x1,51662,341,53216,67102,81535 14,19 €
B0531.06082086Csignalgrün RAL 60328M202072,351,33520,58,5122,32060 16,08 €
B0531.060820186Csignalgrün RAL 60328M20x1,52072,351,33520,58,5122,32060 16,08 €
B0531.06102086Csignalgrün RAL 603210M202072,351,33520,58,5122,82060 16,08 €
B0531.061020186Csignalgrün RAL 603210M20x1,52072,351,33520,58,5122,82060 16,08 €
B0531.06122086Csignalgrün RAL 603212M202072,351,33520,58,51232060 16,08 €
B0531.061220186Csignalgrün RAL 603212M20x1,52072,351,33520,58,51232060 16,08 €
B0531.06041087Cverkehrsblau RAL 50174M101039,526,32010,94,961814 11,63 €
B0531.060410187Cverkehrsblau RAL 50174M10x11039,526,32010,94,961814 11,63 €
B0531.06051087Cverkehrsblau RAL 50175M101039,526,32010,94,961,3814 11,63 €
B0531.060510187Cverkehrsblau RAL 50175M10x11039,526,32010,94,961,3814 11,63 €
B0531.06061087Cverkehrsblau RAL 50176M101039,526,32010,94,961,8814 11,63 €
B0531.060610187Cverkehrsblau RAL 50176M10x11039,526,32010,94,961,8814 11,63 €
B0531.06051287Cverkehrsblau RAL 50175M121248,431,12512,95,781,3815 11,87 €
B0531.060512187Cverkehrsblau RAL 50175M12x1,51248,431,12512,95,781,3815 11,87 €
B0531.06061287Cverkehrsblau RAL 50176M121248,431,12512,95,781,8815 11,87 €
B0531.060612187Cverkehrsblau RAL 50176M12x1,51248,431,12512,95,781,8815 11,87 €
B0531.06081287Cverkehrsblau RAL 50178M121248,431,12512,95,782,3815 11,87 €
B0531.060812187Cverkehrsblau RAL 50178M12x1,51248,431,12512,95,782,3815 11,87 €
B0531.06061687Cverkehrsblau RAL 50176M161662,341,53216,67101,81535 14,19 €
B0531.060616187Cverkehrsblau RAL 50176M16x1,51662,341,53216,67101,81535 14,19 €
B0531.06081687Cverkehrsblau RAL 50178M161662,341,53216,67102,31535 14,19 €
B0531.060816187Cverkehrsblau RAL 50178M16x1,51662,341,53216,67102,31535 14,19 €
B0531.06101687Cverkehrsblau RAL 501710M161662,341,53216,67102,81535 14,19 €
B0531.061016187Cverkehrsblau RAL 501710M16x1,51662,341,53216,67102,81535 14,19 €
B0531.06082087Cverkehrsblau RAL 50178M202072,351,33520,58,5122,32060 16,08 €
B0531.060820187Cverkehrsblau RAL 50178M20x1,52072,351,33520,58,5122,32060 16,08 €
B0531.06102087Cverkehrsblau RAL 501710M202072,351,33520,58,5122,82060 16,08 €
B0531.061020187Cverkehrsblau RAL 501710M20x1,52072,351,33520,58,5122,82060 16,08 €
B0531.06122087Cverkehrsblau RAL 501712M202072,351,33520,58,51232060 16,08 €
B0531.061220187Cverkehrsblau RAL 501712M20x1,52072,351,33520,58,51232060 16,08 €
B0531.06041088Clichtgrau RAL 70354M101039,526,32010,94,961814 11,63 €
B0531.060410188Clichtgrau RAL 70354M10x11039,526,32010,94,961814 11,63 €
B0531.06051088Clichtgrau RAL 70355M101039,526,32010,94,961,3814 11,63 €
B0531.060510188Clichtgrau RAL 70355M10x11039,526,32010,94,961,3814 11,63 €
B0531.06061088Clichtgrau RAL 70356M101039,526,32010,94,961,8814 11,63 €
B0531.060610188Clichtgrau RAL 70356M10x11039,526,32010,94,961,8814 11,63 €
B0531.06051288Clichtgrau RAL 70355M121248,431,12512,95,781,3815 11,87 €
B0531.060512188Clichtgrau RAL 70355M12x1,51248,431,12512,95,781,3815 11,87 €
B0531.06061288Clichtgrau RAL 70356M121248,431,12512,95,781,8815 11,87 €
B0531.060612188Clichtgrau RAL 70356M12x1,51248,431,12512,95,781,8815 11,87 €
B0531.06081288Clichtgrau RAL 70358M121248,431,12512,95,782,3815 11,87 €
B0531.060812188Clichtgrau RAL 70358M12x1,51248,431,12512,95,782,3815 11,87 €
B0531.06061688Clichtgrau RAL 70356M161662,341,53216,67101,81535 14,19 €
B0531.060616188Clichtgrau RAL 70356M16x1,51662,341,53216,67101,81535 14,19 €
B0531.06081688Clichtgrau RAL 70358M161662,341,53216,67102,31535 14,19 €
B0531.060816188Clichtgrau RAL 70358M16x1,51662,341,53216,67102,31535 14,19 €
B0531.06101688Clichtgrau RAL 703510M161662,341,53216,67102,81535 14,19 €
B0531.061016188Clichtgrau RAL 703510M16x1,51662,341,53216,67102,81535 14,19 €
B0531.06082088Clichtgrau RAL 70358M202072,351,33520,58,5122,32060 16,08 €
B0531.060820188Clichtgrau RAL 70358M20x1,52072,351,33520,58,5122,32060 16,08 €
B0531.06102088Clichtgrau RAL 703510M202072,351,33520,58,5122,82060 16,08 €
B0531.061020188Clichtgrau RAL 703510M20x1,52072,351,33520,58,5122,82060 16,08 €
B0531.06122088Clichtgrau RAL 703512M202072,351,33520,58,51232060 16,08 €
B0531.061220188Clichtgrau RAL 703512M20x1,52072,351,33520,58,51232060 16,08 €

Sperrriegel, Form D, mit Riegelkappe, mit Mutter

mehr Info

Zeichnungen

Sperrriegel, Form D, mit Riegelkappe, mit Mutter

Artikelauswahl/-filter

BestellnummerFormFarbe
Komponente
DD1D2LL1L3BB1HSWF x 30°Federkraft
Anfang
F1 ca. N
Federkraft
Ende
F2 ca. N
CADZub.PreisBestellen
B0531.070410Dschwarzgrau RAL 70214M101039,526,32010,94,96171814 11,70 €
B0531.0704101Dschwarzgrau RAL 70214M10x11039,526,32010,94,96171814 11,70 €
B0531.070510Dschwarzgrau RAL 70215M101039,526,32010,94,96171,3814 11,70 €
B0531.0705101Dschwarzgrau RAL 70215M10x11039,526,32010,94,96171,3814 11,70 €
B0531.070610Dschwarzgrau RAL 70216M101039,526,32010,94,96171,8814 11,70 €
B0531.0706101Dschwarzgrau RAL 70216M10x11039,526,32010,94,96171,8814 11,70 €
B0531.070512Dschwarzgrau RAL 70215M121248,431,12512,95,78191,3815 11,96 €
B0531.0705121Dschwarzgrau RAL 70215M12x1,51248,431,12512,95,78191,3815 11,96 €
B0531.070612Dschwarzgrau RAL 70216M121248,431,12512,95,78191,8815 11,96 €
B0531.0706121Dschwarzgrau RAL 70216M12x1,51248,431,12512,95,78191,8815 11,96 €
B0531.070812Dschwarzgrau RAL 70218M121248,431,12512,95,78192,3815 11,96 €
B0531.0708121Dschwarzgrau RAL 70218M12x1,51248,431,12512,95,78192,3815 11,96 €
B0531.070616Dschwarzgrau RAL 70216M161662,341,53216,6710241,81535 14,30 €
B0531.0706161Dschwarzgrau RAL 70216M16x1,51662,341,53216,6710241,81535 14,30 €
B0531.070816Dschwarzgrau RAL 70218M161662,341,53216,6710242,31535 14,30 €
B0531.0708161Dschwarzgrau RAL 70218M16x1,51662,341,53216,6710242,31535 14,30 €
B0531.071016Dschwarzgrau RAL 702110M161662,341,53216,6710242,81535 14,30 €
B0531.0710161Dschwarzgrau RAL 702110M16x1,51662,341,53216,6710242,81535 14,30 €
B0531.070820Dschwarzgrau RAL 70218M202072,351,33520,58,512302,32060 16,35 €
B0531.0708201Dschwarzgrau RAL 70218M20x1,52072,351,33520,58,512302,32060 16,35 €
B0531.071020Dschwarzgrau RAL 702110M202072,351,33520,58,512302,82060 16,35 €
B0531.0710201Dschwarzgrau RAL 702110M20x1,52072,351,33520,58,512302,82060 16,35 €
B0531.071220Dschwarzgrau RAL 702112M202072,351,33520,58,5123032060 16,35 €
B0531.0712201Dschwarzgrau RAL 702112M20x1,52072,351,33520,58,5123032060 16,35 €
B0531.0704102Dreinorange RAL 20044M101039,526,32010,94,96171814 11,70 €
B0531.07041012Dreinorange RAL 20044M10x11039,526,32010,94,96171814 11,70 €
B0531.0705102Dreinorange RAL 20045M101039,526,32010,94,96171,3814 11,70 €
B0531.07051012Dreinorange RAL 20045M10x11039,526,32010,94,96171,3814 11,70 €
B0531.0706102Dreinorange RAL 20046M101039,526,32010,94,96171,8814 11,70 €
B0531.07061012Dreinorange RAL 20046M10x11039,526,32010,94,96171,8814 11,70 €
B0531.0705122Dreinorange RAL 20045M121248,431,12512,95,78191,3815 11,96 €
B0531.07051212Dreinorange RAL 20045M12x1,51248,431,12512,95,78191,3815 11,96 €
B0531.0706122Dreinorange RAL 20046M121248,431,12512,95,78191,8815 11,96 €
B0531.07061212Dreinorange RAL 20046M12x1,51248,431,12512,95,78191,8815 11,96 €
B0531.0708122Dreinorange RAL 20048M121248,431,12512,95,78192,3815 11,96 €
B0531.07081212Dreinorange RAL 20048M12x1,51248,431,12512,95,78192,3815 11,96 €
B0531.0706162Dreinorange RAL 20046M161662,341,53216,6710241,81535 14,30 €
B0531.07061612Dreinorange RAL 20046M16x1,51662,341,53216,6710241,81535 14,30 €
B0531.0708162Dreinorange RAL 20048M161662,341,53216,6710242,31535 14,30 €
B0531.07081612Dreinorange RAL 20048M16x1,51662,341,53216,6710242,31535 14,30 €
B0531.0710162Dreinorange RAL 200410M161662,341,53216,6710242,81535 14,30 €
B0531.07101612Dreinorange RAL 200410M16x1,51662,341,53216,6710242,81535 14,30 €
B0531.0708202Dreinorange RAL 20048M202072,351,33520,58,512302,32060 16,35 €
B0531.07082012Dreinorange RAL 20048M20x1,52072,351,33520,58,512302,32060 16,35 €
B0531.0710202Dreinorange RAL 200410M202072,351,33520,58,512302,82060 16,35 €
B0531.07102012Dreinorange RAL 200410M20x1,52072,351,33520,58,512302,82060 16,35 €
B0531.0712202Dreinorange RAL 200412M202072,351,33520,58,5123032060 16,35 €
B0531.07122012Dreinorange RAL 200412M20x1,52072,351,33520,58,5123032060 16,35 €
B0531.07041016Drapsgelb RAL 10214M101039,526,32010,94,96171814 11,70 €
B0531.070410116Drapsgelb RAL 10214M10x11039,526,32010,94,96171814 11,70 €
B0531.07051016Drapsgelb RAL 10215M101039,526,32010,94,96171,3814 11,70 €
B0531.070510116Drapsgelb RAL 10215M10x11039,526,32010,94,96171,3814 11,70 €
B0531.07061016Drapsgelb RAL 10216M101039,526,32010,94,96171,8814 11,70 €
B0531.070610116Drapsgelb RAL 10216M10x11039,526,32010,94,96171,8814 11,70 €
B0531.07051216Drapsgelb RAL 10215M121248,431,12512,95,78191,3815 11,96 €
B0531.070512116Drapsgelb RAL 10215M12x1,51248,431,12512,95,78191,3815 11,96 €
B0531.07061216Drapsgelb RAL 10216M121248,431,12512,95,78191,8815 11,96 €
B0531.070612116Drapsgelb RAL 10216M12x1,51248,431,12512,95,78191,8815 11,96 €
B0531.07081216Drapsgelb RAL 10218M121248,431,12512,95,78192,3815 11,96 €
B0531.070812116Drapsgelb RAL 10218M12x1,51248,431,12512,95,78192,3815 11,96 €
B0531.07061616Drapsgelb RAL 10216M161662,341,53216,6710241,81535 14,30 €
B0531.070616116Drapsgelb RAL 10216M16x1,51662,341,53216,6710241,81535 14,30 €
B0531.07081616Drapsgelb RAL 10218M161662,341,53216,6710242,31535 14,30 €
B0531.070816116Drapsgelb RAL 10218M16x1,51662,341,53216,6710242,31535 14,30 €
B0531.07101616Drapsgelb RAL 102110M161662,341,53216,6710242,81535 14,30 €
B0531.071016116Drapsgelb RAL 102110M16x1,51662,341,53216,6710242,81535 14,30 €
B0531.07082016Drapsgelb RAL 10218M202072,351,33520,58,512302,32060 16,35 €
B0531.070820116Drapsgelb RAL 10218M20x1,52072,351,33520,58,512302,32060 16,35 €
B0531.07102016Drapsgelb RAL 102110M202072,351,33520,58,512302,82060 16,35 €
B0531.071020116Drapsgelb RAL 102110M20x1,52072,351,33520,58,512302,82060 16,35 €
B0531.07122016Drapsgelb RAL 102112M202072,351,33520,58,5123032060 16,35 €
B0531.071220116Drapsgelb RAL 102112M20x1,52072,351,33520,58,5123032060 16,35 €
B0531.07041084Dverkehrsrot RAL 30204M101039,526,32010,94,96171814 11,70 €
B0531.070410184Dverkehrsrot RAL 30204M10x11039,526,32010,94,96171814 11,70 €
B0531.07051084Dverkehrsrot RAL 30205M101039,526,32010,94,96171,3814 11,70 €
B0531.070510184Dverkehrsrot RAL 30205M10x11039,526,32010,94,96171,3814 11,70 €
B0531.07061084Dverkehrsrot RAL 30206M101039,526,32010,94,96171,8814 11,70 €
B0531.070610184Dverkehrsrot RAL 30206M10x11039,526,32010,94,96171,8814 11,70 €
B0531.07051284Dverkehrsrot RAL 30205M121248,431,12512,95,78191,3815 11,96 €
B0531.070512184Dverkehrsrot RAL 30205M12x1,51248,431,12512,95,78191,3815 11,96 €
B0531.07061284Dverkehrsrot RAL 30206M121248,431,12512,95,78191,8815 11,96 €
B0531.070612184Dverkehrsrot RAL 30206M12x1,51248,431,12512,95,78191,8815 11,96 €
B0531.07081284Dverkehrsrot RAL 30208M121248,431,12512,95,78192,3815 11,96 €
B0531.070812184Dverkehrsrot RAL 30208M12x1,51248,431,12512,95,78192,3815 11,96 €
B0531.07061684Dverkehrsrot RAL 30206M161662,341,53216,6710241,81535 14,30 €
B0531.070616184Dverkehrsrot RAL 30206M16x1,51662,341,53216,6710241,81535 14,30 €
B0531.07081684Dverkehrsrot RAL 30208M161662,341,53216,6710242,31535 14,30 €
B0531.070816184Dverkehrsrot RAL 30208M16x1,51662,341,53216,6710242,31535 14,30 €
B0531.07101684Dverkehrsrot RAL 302010M161662,341,53216,6710242,81535 14,30 €
B0531.071016184Dverkehrsrot RAL 302010M16x1,51662,341,53216,6710242,81535 14,30 €
B0531.07082084Dverkehrsrot RAL 30208M202072,351,33520,58,512302,32060 16,35 €
B0531.070820184Dverkehrsrot RAL 30208M20x1,52072,351,33520,58,512302,32060 16,35 €
B0531.07102084Dverkehrsrot RAL 302010M202072,351,33520,58,512302,82060 16,35 €
B0531.071020184Dverkehrsrot RAL 302010M20x1,52072,351,33520,58,512302,82060 16,35 €
B0531.07122084Dverkehrsrot RAL 302012M202072,351,33520,58,5123032060 16,35 €
B0531.071220184Dverkehrsrot RAL 302012M20x1,52072,351,33520,58,5123032060 16,35 €
B0531.07041086Dsignalgrün RAL 60324M101039,526,32010,94,96171814 11,70 €
B0531.070410186Dsignalgrün RAL 60324M10x11039,526,32010,94,96171814 11,70 €
B0531.07051086Dsignalgrün RAL 60325M101039,526,32010,94,96171,3814 11,70 €
B0531.070510186Dsignalgrün RAL 60325M10x11039,526,32010,94,96171,3814 11,70 €
B0531.07061086Dsignalgrün RAL 60326M101039,526,32010,94,96171,8814 11,70 €
B0531.070610186Dsignalgrün RAL 60326M10x11039,526,32010,94,96171,8814 11,70 €
B0531.07051286Dsignalgrün RAL 60325M121248,431,12512,95,78191,3815 11,96 €
B0531.070512186Dsignalgrün RAL 60325M12x1,51248,431,12512,95,78191,3815 11,96 €
B0531.07061286Dsignalgrün RAL 60326M121248,431,12512,95,78191,8815 11,96 €
B0531.070612186Dsignalgrün RAL 60326M12x1,51248,431,12512,95,78191,8815 11,96 €
B0531.07081286Dsignalgrün RAL 60328M121248,431,12512,95,78192,3815 11,96 €
B0531.070812186Dsignalgrün RAL 60328M12x1,51248,431,12512,95,78192,3815 11,96 €
B0531.07061686Dsignalgrün RAL 60326M161662,341,53216,6710241,81535 14,30 €
B0531.070616186Dsignalgrün RAL 60326M16x1,51662,341,53216,6710241,81535 14,30 €
B0531.07081686Dsignalgrün RAL 60328M161662,341,53216,6710242,31535 14,30 €
B0531.070816186Dsignalgrün RAL 60328M16x1,51662,341,53216,6710242,31535 14,30 €
B0531.07101686Dsignalgrün RAL 603210M161662,341,53216,6710242,81535 14,30 €
B0531.071016186Dsignalgrün RAL 603210M16x1,51662,341,53216,6710242,81535 14,30 €
B0531.07082086Dsignalgrün RAL 60328M202072,351,33520,58,512302,32060 16,35 €
B0531.070820186Dsignalgrün RAL 60328M20x1,52072,351,33520,58,512302,32060 16,35 €
B0531.07102086Dsignalgrün RAL 603210M202072,351,33520,58,512302,82060 16,35 €
B0531.071020186Dsignalgrün RAL 603210M20x1,52072,351,33520,58,512302,82060 16,35 €
B0531.07122086Dsignalgrün RAL 603212M202072,351,33520,58,5123032060 16,35 €
B0531.071220186Dsignalgrün RAL 603212M20x1,52072,351,33520,58,5123032060 16,35 €
B0531.07041087Dverkehrsblau RAL 50174M101039,526,32010,94,96171814 11,70 €
B0531.070410187Dverkehrsblau RAL 50174M10x11039,526,32010,94,96171814 11,70 €
B0531.07051087Dverkehrsblau RAL 50175M101039,526,32010,94,96171,3814 11,70 €
B0531.070510187Dverkehrsblau RAL 50175M10x11039,526,32010,94,96171,3814 11,70 €
B0531.07061087Dverkehrsblau RAL 50176M101039,526,32010,94,96171,8814 11,70 €
B0531.070610187Dverkehrsblau RAL 50176M10x11039,526,32010,94,96171,8814 11,70 €
B0531.07051287Dverkehrsblau RAL 50175M121248,431,12512,95,78191,3815 11,96 €
B0531.070512187Dverkehrsblau RAL 50175M12x1,51248,431,12512,95,78191,3815 11,96 €
B0531.07061287Dverkehrsblau RAL 50176M121248,431,12512,95,78191,8815 11,96 €
B0531.070612187Dverkehrsblau RAL 50176M12x1,51248,431,12512,95,78191,8815 11,96 €
B0531.07081287Dverkehrsblau RAL 50178M121248,431,12512,95,78192,3815 11,96 €
B0531.070812187Dverkehrsblau RAL 50178M12x1,51248,431,12512,95,78192,3815 11,96 €
B0531.07061687Dverkehrsblau RAL 50176M161662,341,53216,6710241,81535 14,30 €
B0531.070616187Dverkehrsblau RAL 50176M16x1,51662,341,53216,6710241,81535 14,30 €
B0531.07081687Dverkehrsblau RAL 50178M161662,341,53216,6710242,31535 14,30 €
B0531.070816187Dverkehrsblau RAL 50178M16x1,51662,341,53216,6710242,31535 14,30 €
B0531.07101687Dverkehrsblau RAL 501710M161662,341,53216,6710242,81535 14,30 €
B0531.071016187Dverkehrsblau RAL 501710M16x1,51662,341,53216,6710242,81535 14,30 €
B0531.07082087Dverkehrsblau RAL 50178M202072,351,33520,58,512302,32060 16,35 €
B0531.070820187Dverkehrsblau RAL 50178M20x1,52072,351,33520,58,512302,32060 16,35 €
B0531.07102087Dverkehrsblau RAL 501710M202072,351,33520,58,512302,82060 16,35 €
B0531.071020187Dverkehrsblau RAL 501710M20x1,52072,351,33520,58,512302,82060 16,35 €
B0531.07122087Dverkehrsblau RAL 501712M202072,351,33520,58,5123032060 16,35 €
B0531.071220187Dverkehrsblau RAL 501712M20x1,52072,351,33520,58,5123032060 16,35 €
B0531.07041088Dlichtgrau RAL 70354M101039,526,32010,94,96171814 11,70 €
B0531.070410188Dlichtgrau RAL 70354M10x11039,526,32010,94,96171814 11,70 €
B0531.07051088Dlichtgrau RAL 70355M101039,526,32010,94,96171,3814 11,70 €
B0531.070510188Dlichtgrau RAL 70355M10x11039,526,32010,94,96171,3814 11,70 €
B0531.07061088Dlichtgrau RAL 70356M101039,526,32010,94,96171,8814 11,70 €
B0531.070610188Dlichtgrau RAL 70356M10x11039,526,32010,94,96171,8814 11,70 €
B0531.07051288Dlichtgrau RAL 70355M121248,431,12512,95,78191,3815 11,96 €
B0531.070512188Dlichtgrau RAL 70355M12x1,51248,431,12512,95,78191,3815 11,96 €
B0531.07061288Dlichtgrau RAL 70356M121248,431,12512,95,78191,8815 11,96 €
B0531.070612188Dlichtgrau RAL 70356M12x1,51248,431,12512,95,78191,8815 11,96 €
B0531.07081288Dlichtgrau RAL 70358M121248,431,12512,95,78192,3815 11,96 €
B0531.070812188Dlichtgrau RAL 70358M12x1,51248,431,12512,95,78192,3815 11,96 €
B0531.07061688Dlichtgrau RAL 70356M161662,341,53216,6710241,81535 14,30 €
B0531.070616188Dlichtgrau RAL 70356M16x1,51662,341,53216,6710241,81535 14,30 €
B0531.07081688Dlichtgrau RAL 70358M161662,341,53216,6710242,31535 14,30 €
B0531.070816188Dlichtgrau RAL 70358M16x1,51662,341,53216,6710242,31535 14,30 €
B0531.07101688Dlichtgrau RAL 703510M161662,341,53216,6710242,81535 14,30 €
B0531.071016188Dlichtgrau RAL 703510M16x1,51662,341,53216,6710242,81535 14,30 €
B0531.07082088Dlichtgrau RAL 70358M202072,351,33520,58,512302,32060 16,35 €
B0531.070820188Dlichtgrau RAL 70358M20x1,52072,351,33520,58,512302,32060 16,35 €
B0531.07102088Dlichtgrau RAL 703510M202072,351,33520,58,512302,82060 16,35 €
B0531.071020188Dlichtgrau RAL 703510M20x1,52072,351,33520,58,512302,82060 16,35 €
B0531.07122088Dlichtgrau RAL 703512M202072,351,33520,58,5123032060 16,35 €
B0531.071220188Dlichtgrau RAL 703512M20x1,52072,351,33520,58,5123032060 16,35 €
Suche
MeinACCOUNTE-MailPasswort
Warenkorb
Artikelanzahl: 0
Summe: 0,00  
Anzeigen
Schnellbestellung
Deutschland
Sitemap Drucken Top
Copyright © 2025 NORMTEILWERK ROBERT BLOHM GmbH. All rights reserved. Tel. +49 (0) 41 55 / 80 08-0 · Fax +49 (0) 41 55 / 81 11 31