- Product overview
- Drill bushes
- Spring plungers, locating pins, quick-release pins
- Machine and fixture components
- Screws, nuts and washers
- B0094
Studs DIN 6379
- B0095
T-slot bolts DIN 787
- B0096
T-slot bolts DIN 787, 12.9
- B0097
Hexagon head bolts with shaft DIN 931/ISO 4014
- B0098
Hexagon head bolts DIN 933/ISO 4017
- B0099
Hexagon head bolts with flange DIN EN 1665
- B0528
Button head screws, EN ISO 7380
- B0100
Hexagon nuts thin DIN 439 / ISO 4035
- B0101
Hexagon nuts DIN 934
- B0102
Hexagon nuts with polyamide thread lock high type, DIN 982 enhanced
- B0103
Hexagon nuts with polyamide thread lock, thin type DIN 985 enhanced
- B0104
Hexagon nuts with thread lock DIN 980 enhanced
- B0105
Hexagon nuts with collar height 1.5xD, DIN 6331 enhanced
- B0106
Hexagon nuts height 1.5xD, DIN 6330 enhanced
- B0107
Hexagon nuts with spherical seat
- B0108
Nuts for T-slots DIN 508 enhanced
- B0109
T-slot keys steel or stainless steel
- B0110
Nuts for T-slots rhombic form
- B0111
Parallel keys DIN 6885 A
- B0112
Washers medium, DIN EN ISO 7089 A
- B0557
DIN 433 washer, steel or stainless steel
- B0113
Washers with large OD DIN 9021
- B0114
Shim washers DIN 988
- B0115
C-washers DIN 6372 enhanced
- B0116
C-washers captive DIN 6371
- B0117
Shoulder screws with slotted flat head DIN 923
- B0118
Shoulder screws similar to ISO 7379
- B0119
Shoulder screws with hexagon head similar to DIN 609
- B0523
Cylindrical pins DIN 6325
- B0529
Dowel pins ISO 2338
- B0524
Cylindrical pins with internal thread DIN EN ISO 8735
- B0576
Tapered pins ISO 2339, steel or stainless steel Form B
- B0120
Grub screws with flat point hexagon socket DIN EN ISO 4026
- B0121
Grub screw with hexagon socket and pointed end DIN EN ISO 4027
- B0527
Grub screws with hex socket and pin DIN EN ISO 4028
- B0122
Screws with countersunk head hexagon socket DIN EN ISO 10642
- B0123
Socket head screws full thread, DIN 912
- B0125
Socket head screws DIN EN ISO 4762 with thread lock
- B0124
Socket head screws DIN EN ISO 4762 enhanced, steel or stainless steel
- B0127
Socket head screws with low head DIN 6912
- B0128
Eye bolts DIN 444, Form B with long thread
- B0129
Eye bolts DIN 444, Form B
- B0577
Eyebolts type 48 steel or stainless steel
- B0578
Threaded hooks type 11E and type 4E, steel
- B0130
T-thrust screws with fixed or sliding T-bar, DIN 6304 or DIN 6306
- B0131
Tommy bars with fixed or sliding T-bar, DIN 6305 or DIN 6307
- Threaded Inserts
- Shaft collars
- Locating elements, stop elements, support elements
- Clamping levers, tension levers, cam levers
- Handles and knobs
- Pull handles
- handwheel, crank handle
- Hinges
- Levelling feet
- toggle clamp, push-pull toggle clamp
- Clamping elements
- Joints
- Absorption units
- oil level sight glasses, screw plug, press-in plug
- Transport technology
- Special solutions
- Product news
|
|
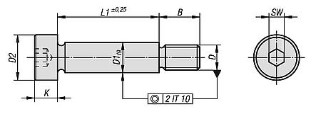
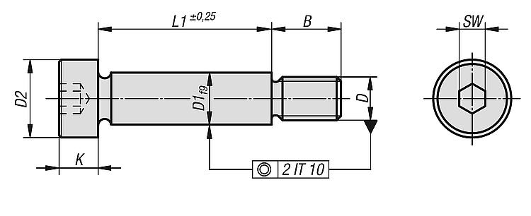
B0118Shoulder screws similar to ISO 7379 |
go back |
|
Item description/product images |
|
|
DescriptionMaterial:Steel or stainless steel A2.Version:Grade 12.9. Shaft OD ground and bright. Bright stainless steel or tempered steel.Note:Hexagon socket head shoulder screws are precision construction elements for many applications. As they can simplify complicated constructions, they are frequently chosen as the most cost-effective solution. Shoulder screws provide the decisive rationalising effect required today. DownloadHere is all the information as a PDF datasheet:
Are you looking for CAD data? These can be found directly in the product table.
|
Order No. | Main material | D1 | D | D2 | B | K | SW | L1 | CAD | Acc. | Price | Order |
---|
B0118.04X06 | steel | 4 | M3 | 7 | 7 | 3 | 2 | 6 |  | | 2.70 € | | B0118.04X08 | steel | 4 | M3 | 7 | 7 | 3 | 2 | 8 |  | | 2.83 € | | B0118.04X10 | steel | 4 | M3 | 7 | 7 | 3 | 2 | 10 |  | | 2.94 € | | B0118.04X12 | steel | 4 | M3 | 7 | 7 | 3 | 2 | 12 |  | | 3.13 € | | B0118.04X16 | steel | 4 | M3 | 7 | 7 | 3 | 2 | 16 |  | | 3.28 € | | B0118.04X20 | steel | 4 | M3 | 7 | 7 | 3 | 2 | 20 |  | | 3.44 € | | B0118.04X04 | steel | 4 | M3 | 7 | 7 | 3 | 2 | 4 |  | | 2.18 € | | B0118.04X05 | steel | 4 | M3 | 7 | 7 | 3 | 2 | 5 |  | | 2.20 € | | B0118.04X25 | steel | 4 | M3 | 7 | 7 | 3 | 2 | 25 |  | | 3.61 € | | B0118.04X30 | steel | 4 | M3 | 7 | 7 | 3 | 2 | 30 |  | | 3.67 € | | B0118.05X16 | steel | 5 | M4 | 9 | 8 | 4 | 2,5 | 16 |  | | 3.52 € | | B0118.05X20 | steel | 5 | M4 | 9 | 8 | 4 | 2,5 | 20 |  | | 3.73 € | | B0118.05X08 | steel | 5 | M4 | 9 | 8 | 4 | 2,5 | 8 |  | | 2.99 € | | B0118.05X10 | steel | 5 | M4 | 9 | 8 | 4 | 2,5 | 10 |  | | 3.16 € | | B0118.05X30 | steel | 5 | M4 | 9 | 8 | 4 | 2,5 | 30 |  | | 4.19 € | | B0118.05X40 | steel | 5 | M4 | 9 | 8 | 4 | 2,5 | 40 |  | | 4.78 € | | B0118.05X05 | steel | 5 | M4 | 9 | 8 | 4 | 2,5 | 5 |  | | 1.84 € | | B0118.05X06 | steel | 5 | M4 | 9 | 8 | 4 | 2,5 | 6 |  | | 2.18 € | | B0118.05X12 | steel | 5 | M4 | 9 | 8 | 4 | 2,5 | 12 |  | | 3.31 € | | B0118.05X25 | steel | 5 | M4 | 9 | 8 | 4 | 2,5 | 25 |  | | 3.90 € | | B0118.06X10 | steel | 6 | M5 | 10 | 9,5 | 4,5 | 3 | 10 |  | | 0.57 € | | B0118.06X16 | steel | 6 | M5 | 10 | 9,5 | 4,5 | 3 | 16 |  | | 0.59 € | | B0118.06X20 | steel | 6 | M5 | 10 | 9,5 | 4,5 | 3 | 20 |  | | 0.66 € | | B0118.06X25 | steel | 6 | M5 | 10 | 9,5 | 4,5 | 3 | 25 |  | | 0.72 € | | B0118.06X30 | steel | 6 | M5 | 10 | 9,5 | 4,5 | 3 | 30 |  | | 0.78 € | | B0118.06X40 | steel | 6 | M5 | 10 | 9,5 | 4,5 | 3 | 40 |  | | 0.89 € | | B0118.06X50 | steel | 6 | M5 | 10 | 9,5 | 4,5 | 3 | 50 |  | | 0.94 € | | B0118.06X60 | steel | 6 | M5 | 10 | 9,5 | 4,5 | 3 | 60 |  | | 1.16 € | | B0118.06X70 | steel | 6 | M5 | 10 | 9,5 | 4,5 | 3 | 70 |  | | 1.70 € | | B0118.06X12 | steel | 6 | M5 | 10 | 9,5 | 4,5 | 3 | 12 |  | | 0.58 € | | B0118.06X35 | steel | 6 | M5 | 10 | 9,5 | 4,5 | 3 | 35 |  | | 0.82 € | | B0118.06X45 | steel | 6 | M5 | 10 | 9,5 | 4,5 | 3 | 45 |  | | 0.94 € | | B0118.06X55 | steel | 6 | M5 | 10 | 9,5 | 4,5 | 3 | 55 |  | | 1.06 € | | B0118.06X65 | steel | 6 | M5 | 10 | 9,5 | 4,5 | 3 | 65 |  | | 1.43 € | | B0118.06X80 | steel | 6 | M5 | 10 | 9,5 | 4,5 | 3 | 80 |  | | 2.03 € | | B0118.08X16 | steel | 8 | M6 | 13 | 11 | 5,5 | 4 | 16 |  | | 0.71 € | | B0118.08X20 | steel | 8 | M6 | 13 | 11 | 5,5 | 4 | 20 |  | | 0.73 € | | B0118.08X25 | steel | 8 | M6 | 13 | 11 | 5,5 | 4 | 25 |  | | 0.78 € | | B0118.08X30 | steel | 8 | M6 | 13 | 11 | 5,5 | 4 | 30 |  | | 0.82 € | | B0118.08X40 | steel | 8 | M6 | 13 | 11 | 5,5 | 4 | 40 |  | | 0.93 € | | B0118.08X50 | steel | 8 | M6 | 13 | 11 | 5,5 | 4 | 50 |  | | 0.94 € | | B0118.08X60 | steel | 8 | M6 | 13 | 11 | 5,5 | 4 | 60 |  | | 1.26 € | | B0118.08X70 | steel | 8 | M6 | 13 | 11 | 5,5 | 4 | 70 |  | | 1.34 € | | B0118.08X90 | steel | 8 | M6 | 13 | 11 | 5,5 | 4 | 90 |  | | 1.48 € | | B0118.08X45 | steel | 8 | M6 | 13 | 11 | 5,5 | 4 | 45 |  | | 0.98 € | | B0118.08X55 | steel | 8 | M6 | 13 | 11 | 5,5 | 4 | 55 |  | | 1.14 € | | B0118.08X65 | steel | 8 | M6 | 13 | 11 | 5,5 | 4 | 65 |  | | 1.33 € | | B0118.08X80 | steel | 8 | M6 | 13 | 11 | 5,5 | 4 | 80 |  | | 1.37 € | | B0118.08X100 | steel | 8 | M6 | 13 | 11 | 5,5 | 4 | 100 |  | | 1.51 € | | B0118.10X16 | steel | 10 | M8 | 16 | 13 | 7 | 5 | 16 |  | | 0.78 € | | B0118.10X20 | steel | 10 | M8 | 16 | 13 | 7 | 5 | 20 |  | | 0.90 € | | B0118.10X25 | steel | 10 | M8 | 16 | 13 | 7 | 5 | 25 |  | | 0.91 € | | B0118.10X30 | steel | 10 | M8 | 16 | 13 | 7 | 5 | 30 |  | | 0.94 € | | B0118.10X40 | steel | 10 | M8 | 16 | 13 | 7 | 5 | 40 |  | | 1.06 € | | B0118.10X50 | steel | 10 | M8 | 16 | 13 | 7 | 5 | 50 |  | | 1.16 € | | B0118.10X60 | steel | 10 | M8 | 16 | 13 | 7 | 5 | 60 |  | | 1.41 € | | B0118.10X70 | steel | 10 | M8 | 16 | 13 | 7 | 5 | 70 |  | | 1.55 € | | B0118.10X80 | steel | 10 | M8 | 16 | 13 | 7 | 5 | 80 |  | | 1.58 € | | B0118.10X45 | steel | 10 | M8 | 16 | 13 | 7 | 5 | 45 |  | | 1.22 € | | B0118.10X90 | steel | 10 | M8 | 16 | 13 | 7 | 5 | 90 |  | | 1.72 € | | B0118.10X35 | steel | 10 | M8 | 16 | 13 | 7 | 5 | 35 |  | | 1.05 € | | B0118.10X55 | steel | 10 | M8 | 16 | 13 | 7 | 5 | 55 |  | | 1.40 € | | B0118.10X65 | steel | 10 | M8 | 16 | 13 | 7 | 5 | 65 |  | | 1.48 € | | B0118.10X100 | steel | 10 | M8 | 16 | 13 | 7 | 5 | 100 |  | | 1.88 € | | B0118.12X100 | steel | 12 | M10 | 18 | 16 | 9 | 6 | 100 |  | | 3.16 € | | B0118.12X16 | steel | 12 | M10 | 18 | 16 | 9 | 6 | 16 |  | | 1.27 € | | B0118.12X20 | steel | 12 | M10 | 18 | 16 | 9 | 6 | 20 |  | | 1.36 € | | B0118.12X25 | steel | 12 | M10 | 18 | 16 | 9 | 6 | 25 |  | | 1.50 € | | B0118.12X30 | steel | 12 | M10 | 18 | 16 | 9 | 6 | 30 |  | | 1.50 € | | B0118.12X40 | steel | 12 | M10 | 18 | 16 | 9 | 6 | 40 |  | | 1.57 € | | B0118.12X50 | steel | 12 | M10 | 18 | 16 | 9 | 6 | 50 |  | | 1.85 € | | B0118.12X60 | steel | 12 | M10 | 18 | 16 | 9 | 6 | 60 |  | | 1.85 € | | B0118.12X70 | steel | 12 | M10 | 18 | 16 | 9 | 6 | 70 |  | | 1.94 € | | B0118.12X80 | steel | 12 | M10 | 18 | 16 | 9 | 6 | 80 |  | | 2.51 € | | B0118.12X90 | steel | 12 | M10 | 18 | 16 | 9 | 6 | 90 |  | | 2.87 € | | B0118.12X65 | steel | 12 | M10 | 18 | 16 | 8 | 6 | 65 |  | | 1.94 € | | B0118.12X55 | steel | 12 | M10 | 18 | 16 | 8 | 6 | 55 |  | | 1.87 € | | B0118.12X35 | steel | 12 | M10 | 18 | 16 | 8 | 6 | 35 |  | | 1.57 € | | B0118.12X45 | steel | 12 | M10 | 18 | 16 | 8 | 6 | 45 |  | | 1.66 € | | B0118.16X100 | steel | 16 | M12 | 24 | 18 | 11 | 8 | 100 |  | | 4.34 € | | B0118.16X120 | steel | 16 | M12 | 24 | 18 | 11 | 8 | 120 |  | | 6.59 € | | B0118.16X25 | steel | 16 | M12 | 24 | 18 | 11 | 8 | 25 |  | | 2.29 € | | B0118.16X30 | steel | 16 | M12 | 24 | 18 | 11 | 8 | 30 |  | | 2.69 € | | B0118.16X40 | steel | 16 | M12 | 24 | 18 | 11 | 8 | 40 |  | | 2.85 € | | B0118.16X50 | steel | 16 | M12 | 24 | 18 | 11 | 8 | 50 |  | | 3.09 € | | B0118.16X55 | steel | 16 | M12 | 24 | 18 | 11 | 8 | 55 |  | | 3.18 € | | B0118.16X60 | steel | 16 | M12 | 24 | 18 | 11 | 8 | 60 |  | | 3.18 € | | B0118.16X65 | steel | 16 | M12 | 24 | 18 | 11 | 8 | 65 |  | | 3.33 € | | B0118.16X70 | steel | 16 | M12 | 24 | 18 | 11 | 8 | 70 |  | | 3.87 € | | B0118.16X80 | steel | 16 | M12 | 24 | 18 | 11 | 8 | 80 |  | | 4.10 € | | B0118.16X90 | steel | 16 | M12 | 24 | 18 | 11 | 8 | 90 |  | | 4.12 € | | B0118.16X45 | steel | 16 | M12 | 24 | 18 | 11 | 8 | 45 |  | | 2.98 € | | B0118.16X35 | steel | 16 | M12 | 24 | 18 | 11 | 8 | 35 |  | | 2.83 € | | B0118.20X100 | steel | 20 | M16 | 30 | 22 | 14 | 10 | 100 |  | | 9.02 € | | B0118.20X120 | steel | 20 | M16 | 30 | 22 | 14 | 10 | 120 |  | | 11.67 € | | B0118.20X50 | steel | 20 | M16 | 30 | 22 | 14 | 10 | 50 |  | | 7.12 € | | B0118.20X60 | steel | 20 | M16 | 30 | 22 | 14 | 10 | 60 |  | | 7.71 € | | B0118.20X70 | steel | 20 | M16 | 30 | 22 | 14 | 10 | 70 |  | | 7.94 € | | B0118.20X80 | steel | 20 | M16 | 30 | 22 | 14 | 10 | 80 |  | | 8.66 € | | B0118.20X90 | steel | 20 | M16 | 30 | 22 | 14 | 10 | 90 |  | | 8.84 € | | B0118.20X35 | steel | 20 | M16 | 30 | 22 | 14 | 10 | 35 |  | | 7.12 € | | B0118.20X30 | steel | 20 | M16 | 30 | 22 | 14 | 10 | 30 |  | | 7.02 € | | B0118.20X40 | steel | 20 | M16 | 30 | 22 | 14 | 10 | 40 |  | | 7.12 € | | B0118.20X45 | steel | 20 | M16 | 30 | 22 | 14 | 10 | 45 |  | | 7.12 € | | B0118.20X55 | steel | 20 | M16 | 30 | 22 | 14 | 10 | 55 |  | | 7.36 € | | B0118.20X65 | steel | 20 | M16 | 30 | 22 | 14 | 10 | 65 |  | | 8.09 € | | B0118.24X60 | steel | 24 | M20 | 36 | 27 | 16 | 12 | 60 |  | | 10.95 € | | B0118.24X70 | steel | 24 | M20 | 36 | 27 | 16 | 12 | 70 |  | | 11.10 € | | B0118.24X65 | steel | 24 | M20 | 36 | 27 | 16 | 12 | 65 |  | | 11.36 € | | B0118.24X50 | steel | 24 | M20 | 36 | 27 | 16 | 12 | 50 |  | | 10.42 € | | B0118.24X55 | steel | 24 | M20 | 36 | 27 | 16 | 12 | 55 |  | | 10.68 € | | B0118.24X80 | steel | 24 | M20 | 36 | 27 | 16 | 12 | 80 |  | | 11.73 € | | B0118.24X90 | steel | 24 | M20 | 36 | 27 | 16 | 12 | 90 |  | | 13.00 € | | B0118.24X100 | steel | 24 | M20 | 36 | 27 | 16 | 12 | 100 |  | | 13.05 € | | B0118.104X06 | stainless steel A2 | 4 | M3 | 7 | 7 | 3 | 2 | 6 |  | | 3.15 € | | B0118.104X08 | stainless steel A2 | 4 | M3 | 7 | 7 | 3 | 2 | 8 |  | | 3.24 € | | B0118.104X10 | stainless steel A2 | 4 | M3 | 7 | 7 | 3 | 2 | 10 |  | | 3.33 € | | B0118.104X16 | stainless steel A2 | 4 | M3 | 7 | 7 | 3 | 2 | 16 |  | | 3.82 € | | B0118.104X20 | stainless steel A2 | 4 | M3 | 7 | 7 | 3 | 2 | 20 |  | | 4.34 € | | B0118.104X04 | stainless steel A2 | 4 | M3 | 7 | 7 | 3 | 2 | 4 |  | | 3.39 € | | B0118.104X05 | stainless steel A2 | 4 | M3 | 7 | 7 | 3 | 2 | 5 |  | | 2.35 € | | B0118.104X12 | stainless steel A2 | 4 | M3 | 7 | 7 | 3 | 2 | 12 |  | | 3.44 € | | B0118.105X08 | stainless steel A2 | 5 | M4 | 9 | 8 | 4 | 2,5 | 8 |  | | 3.54 € | | B0118.105X10 | stainless steel A2 | 5 | M4 | 9 | 8 | 4 | 2,5 | 10 |  | | 3.67 € | | B0118.105X16 | stainless steel A2 | 5 | M4 | 9 | 8 | 4 | 2,5 | 16 |  | | 3.98 € | | B0118.105X20 | stainless steel A2 | 5 | M4 | 9 | 8 | 4 | 2,5 | 20 |  | | 4.12 € | | B0118.105X30 | stainless steel A2 | 5 | M4 | 9 | 8 | 4 | 2,5 | 30 |  | | 5.15 € | | B0118.105X40 | stainless steel A2 | 5 | M4 | 9 | 8 | 4 | 2,5 | 40 |  | | 5.76 € | | B0118.105X05 | stainless steel A2 | 5 | M4 | 9 | 8 | 4 | 2,5 | 5 |  | | 2.68 € | | B0118.105X06 | stainless steel A2 | 5 | M4 | 9 | 8 | 4 | 2,5 | 6 |  | | 2.88 € | | B0118.105X12 | stainless steel A2 | 5 | M4 | 9 | 8 | 4 | 2,5 | 12 |  | | 3.79 € | | B0118.105X25 | stainless steel A2 | 5 | M4 | 9 | 8 | 4 | 2,5 | 25 |  | | 4.26 € | | B0118.106X16 | stainless steel A2 | 6 | M5 | 10 | 9,5 | 4,5 | 3 | 16 |  | | 4.11 € | | B0118.106X20 | stainless steel A2 | 6 | M5 | 10 | 9,5 | 4,5 | 3 | 20 |  | | 4.28 € | | B0118.106X25 | stainless steel A2 | 6 | M5 | 10 | 9,5 | 4,5 | 3 | 25 |  | | 4.81 € | | B0118.106X30 | stainless steel A2 | 6 | M5 | 10 | 9,5 | 4,5 | 3 | 30 |  | | 5.16 € | | B0118.106X40 | stainless steel A2 | 6 | M5 | 10 | 9,5 | 4,5 | 3 | 40 |  | | 5.70 € | | B0118.106X50 | stainless steel A2 | 6 | M5 | 10 | 9,5 | 4,5 | 3 | 50 |  | | 6.05 € | | B0118.106X60 | stainless steel A2 | 6 | M5 | 10 | 9,5 | 4,5 | 3 | 60 |  | | 6.41 € | | B0118.106X10 | stainless steel A2 | 6 | M5 | 10 | 9,5 | 4,5 | 3 | 10 |  | | 3.15 € | | B0118.106X12 | stainless steel A2 | 6 | M5 | 10 | 9,5 | 4,5 | 3 | 12 |  | | 3.33 € | | B0118.108X16 | stainless steel A2 | 8 | M6 | 13 | 11 | 5,5 | 4 | 16 |  | | 4.38 € | | B0118.108X20 | stainless steel A2 | 8 | M6 | 13 | 11 | 5,5 | 4 | 20 |  | | 4.99 € | | B0118.108X25 | stainless steel A2 | 8 | M6 | 13 | 11 | 5,5 | 4 | 25 |  | | 5.16 € | | B0118.108X30 | stainless steel A2 | 8 | M6 | 13 | 11 | 5,5 | 4 | 30 |  | | 5.51 € | | B0118.108X40 | stainless steel A2 | 8 | M6 | 13 | 11 | 5,5 | 4 | 40 |  | | 5.86 € | | B0118.108X50 | stainless steel A2 | 8 | M6 | 13 | 11 | 5,5 | 4 | 50 |  | | 6.39 € | | B0118.108X60 | stainless steel A2 | 8 | M6 | 13 | 11 | 5,5 | 4 | 60 |  | | 6.73 € | | B0118.110X16 | stainless steel A2 | 10 | M8 | 16 | 13 | 7 | 5 | 16 |  | | 4.65 € | | B0118.110X20 | stainless steel A2 | 10 | M8 | 16 | 13 | 7 | 5 | 20 |  | | 4.81 € | | B0118.110X25 | stainless steel A2 | 10 | M8 | 16 | 13 | 7 | 5 | 25 |  | | 5.36 € | | B0118.110X30 | stainless steel A2 | 10 | M8 | 16 | 13 | 7 | 5 | 30 |  | | 5.70 € | | B0118.110X40 | stainless steel A2 | 10 | M8 | 16 | 13 | 7 | 5 | 40 |  | | 6.05 € | | B0118.110X50 | stainless steel A2 | 10 | M8 | 16 | 13 | 7 | 5 | 50 |  | | 6.07 € | | B0118.110X60 | stainless steel A2 | 10 | M8 | 16 | 13 | 7 | 5 | 60 |  | | 6.39 € | | B0118.110X70 | stainless steel A2 | 10 | M8 | 16 | 13 | 7 | 5 | 70 |  | | 7.01 € | | B0118.110X80 | stainless steel A2 | 10 | M8 | 16 | 13 | 7 | 5 | 80 |  | | 7.37 € | | B0118.110X90 | stainless steel A2 | 10 | M8 | 16 | 13 | 7 | 5 | 90 |  | | 7.64 € | | B0118.110X100 | stainless steel A2 | 10 | M8 | 16 | 13 | 7 | 5 | 100 |  | | 7.73 € | | B0118.112X16 | stainless steel A2 | 12 | M10 | 18 | 16 | 9 | 6 | 16 |  | | 6.39 € | | B0118.112X20 | stainless steel A2 | 12 | M10 | 18 | 16 | 9 | 6 | 20 |  | | 6.68 € | | B0118.112X25 | stainless steel A2 | 12 | M10 | 18 | 16 | 9 | 6 | 25 |  | | 7.01 € | | B0118.112X30 | stainless steel A2 | 12 | M10 | 18 | 16 | 9 | 6 | 30 |  | | 7.33 € | | B0118.112X40 | stainless steel A2 | 12 | M10 | 18 | 16 | 9 | 6 | 40 |  | | 7.61 € | | B0118.112X50 | stainless steel A2 | 12 | M10 | 18 | 16 | 9 | 6 | 50 |  | | 7.95 € | | B0118.112X60 | stainless steel A2 | 12 | M10 | 18 | 16 | 9 | 6 | 60 |  | | 8.28 € | | B0118.112X70 | stainless steel A2 | 12 | M10 | 18 | 16 | 9 | 6 | 70 |  | | 8.89 € | | B0118.112X80 | stainless steel A2 | 12 | M10 | 18 | 16 | 9 | 6 | 80 |  | | 9.52 € | | B0118.112X90 | stainless steel A2 | 12 | M10 | 18 | 16 | 9 | 6 | 90 |  | | 10.44 € | | B0118.112X100 | stainless steel A2 | 12 | M10 | 18 | 16 | 9 | 6 | 100 |  | | 11.38 € | | B0118.116X30 | stainless steel A2 | 16 | M12 | 24 | 18 | 11 | 8 | 30 |  | | 11.06 € | | B0118.116X40 | stainless steel A2 | 16 | M12 | 24 | 18 | 11 | 8 | 40 |  | | 12.64 € | | B0118.116X50 | stainless steel A2 | 16 | M12 | 24 | 18 | 11 | 8 | 50 |  | | 14.21 € | | B0118.116X60 | stainless steel A2 | 16 | M12 | 24 | 18 | 11 | 8 | 60 |  | | 15.77 € | | B0118.116X70 | stainless steel A2 | 16 | M12 | 24 | 18 | 11 | 8 | 70 |  | | 17.32 € | | B0118.116X80 | stainless steel A2 | 16 | M12 | 24 | 18 | 11 | 8 | 80 |  | | 20.46 € | | B0118.116X90 | stainless steel A2 | 16 | M12 | 24 | 18 | 11 | 8 | 90 |  | | 23.74 € | | B0118.116X100 | stainless steel A2 | 16 | M12 | 24 | 18 | 11 | 8 | 100 |  | | 26.74 € | | B0118.116X120 | stainless steel A2 | 16 | M12 | 24 | 18 | 11 | 8 | 120 |  | | 31.63 € | | B0118.120X30 | stainless steel A2 | 20 | M16 | 30 | 22 | 14 | 10 | 30 |  | | 16.61 € | | B0118.120X40 | stainless steel A2 | 20 | M16 | 30 | 22 | 14 | 10 | 40 |  | | 17.71 € | | B0118.120X50 | stainless steel A2 | 20 | M16 | 30 | 22 | 14 | 10 | 50 |  | | 18.99 € | | B0118.120X60 | stainless steel A2 | 20 | M16 | 30 | 22 | 14 | 10 | 60 |  | | 20.25 € | | B0118.120X70 | stainless steel A2 | 20 | M16 | 30 | 22 | 14 | 10 | 70 |  | | 21.29 € | | B0118.120X80 | stainless steel A2 | 20 | M16 | 30 | 22 | 14 | 10 | 80 |  | | 22.45 € | | B0118.120X90 | stainless steel A2 | 20 | M16 | 30 | 22 | 14 | 10 | 90 |  | | 23.33 € | | B0118.120X100 | stainless steel A2 | 20 | M16 | 30 | 22 | 14 | 10 | 100 |  | | 26.74 € | | B0118.120X120 | stainless steel A2 | 20 | M16 | 30 | 22 | 14 | 10 | 120 |  | | 31.63 € | |
Other items in this category |
|
|