Product groups

Item description/product images

DescriptionProduct description:Retaining cables are used to secure loose components to appliances or fixtures. The different types offer a wide range of attachment and freedom of movement options.
A4 stainless steel retaining cables are recommended for applications needing very high corrosion resistance.
Material:

Standard version:
Retaining cable stainless steel 1.4301.
Clip and crimp terminal aluminium or stainless steel 1.4301.
Strap stainless steel 1.4301.

Stainless steel version A4:
Retaining cable stainless steel 1.4401.
Clip and crimp terminal stainless steel 1.4401.
Strap stainless steel 1.4401.

Version:Retaining cable bright or with transparent or black plastic sleeve.
Strap bright or black.
Application:For securing loose tools or other components to appliances and equipment.Temperature range:max. 80°C.Accessory:With the retaining cable and key ring B0090 the ball lock pins B0068, B0070, B0072, B0073, B0074, B0075, B0076, B0077, B0078, B0079, B0080, B0081, can be secured so that they cannot be lost.Drawing reference:
Form A: with eye and crimp terminal
Form B: with crimp terminal
Form C: with eye
Form D: with eye and strap
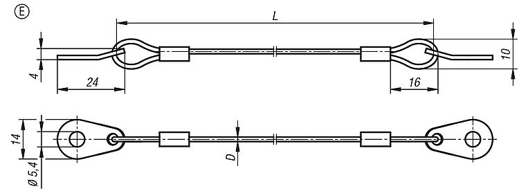
Form E: with strap
Special features:
RoHS
DownloadHere is all the information as a PDF datasheet:

Are you looking for CAD data? These can be found directly in the product table.
 Datasheet B0092 Retaining cables 183 kB

Drawings (total overview)

Retaining cables

Retaining cables Form A, with eye and crimp terminal

More information

Drawings

Retaining cables Form A, with eye and crimp terminal

Item selection/filter

Order No.FormForm definitionSteel keySurface finish
body
Main
colour
Material
Surface finishMaterial
Surface finishLD=rope diameterD1

CADAcc.PriceOrder
B0092.01001Awith eye and crimp terminal1.4301bright-AluminiumbrightAluminiumbright1001,69,3 1.81 €
B0092.01501Awith eye and crimp terminal1.4301bright-AluminiumbrightAluminiumbright1501,69,3 1.90 €
B0092.02001Awith eye and crimp terminal1.4301bright-AluminiumbrightAluminiumbright2001,69,3 2.35 €
B0092.03001Awith eye and crimp terminal1.4301bright-AluminiumbrightAluminiumbright3001,69,3 2.53 €
B0092.05001Awith eye and crimp terminal1.4301bright-AluminiumbrightAluminiumbright5001,69,3 2.86 €
B0092.0100Awith eye and crimp terminal1.4301plastic covertransparentAluminiumbrightAluminiumbright1001,611,5 1.91 €
B0092.0150Awith eye and crimp terminal1.4301plastic covertransparentAluminiumbrightAluminiumbright1501,611,5 2.00 €
B0092.0200Awith eye and crimp terminal1.4301plastic covertransparentAluminiumbrightAluminiumbright2001,611,5 2.48 €
B0092.0300Awith eye and crimp terminal1.4301plastic covertransparentAluminiumbrightAluminiumbright3001,611,5 2.67 €
B0092.0500Awith eye and crimp terminal1.4301plastic covertransparentAluminiumbrightAluminiumbright5001,611,5 3.02 €
B0092.01002Awith eye and crimp terminal1.4301plastic covertransparentStainless steelbrightStainless steelbright1001,69,3 2.10 €
B0092.01502Awith eye and crimp terminal1.4301plastic covertransparentStainless steelbrightStainless steelbright1501,69,3 2.19 €
B0092.02002Awith eye and crimp terminal1.4301plastic covertransparentStainless steelbrightStainless steelbright2001,69,3 2.72 €
B0092.03002Awith eye and crimp terminal1.4301plastic covertransparentStainless steelbrightStainless steelbright3001,69,3 2.94 €
B0092.05002Awith eye and crimp terminal1.4301plastic covertransparentStainless steelbrightStainless steelbright5001,69,3 3.32 €
B0092.01004Awith eye and crimp terminal1.4401plastic covertransparentStainless steelbrightStainless steelbright1001,69,3 2.51 €
B0092.01504Awith eye and crimp terminal1.4401plastic covertransparentStainless steelbrightStainless steelbright1501,69,3 2.64 €
B0092.02004Awith eye and crimp terminal1.4401plastic covertransparentStainless steelbrightStainless steelbright2001,69,3 3.27 €
B0092.03004Awith eye and crimp terminal1.4401plastic covertransparentStainless steelbrightStainless steelbright3001,69,3 3.52 €
B0092.05004Awith eye and crimp terminal1.4401plastic covertransparentStainless steelbrightStainless steelbright5001,69,3 3.99 €
B0092.01003Awith eye and crimp terminal1.4301plastic coverblackStainless steel-Stainless steel-1001,69,3 2.47 €
B0092.01503Awith eye and crimp terminal1.4301plastic coverblackStainless steel-Stainless steel-1501,69,3 2.60 €
B0092.02003Awith eye and crimp terminal1.4301plastic coverblackStainless steel-Stainless steel-2001,69,3 3.21 €
B0092.03003Awith eye and crimp terminal1.4301plastic coverblackStainless steel-Stainless steel-3001,69,3 3.46 €
B0092.05003Awith eye and crimp terminal1.4301plastic coverblackStainless steel-Stainless steel-5001,69,3 3.91 €

Retaining cables Form B, with crimp terminals both ends

More information

Drawings

Retaining cables Form B, with crimp terminals both ends

Item selection/filter

Order No.FormForm definitionSteel keySurface finish
body
Main
colour
Material
Surface finishMaterial
Surface finishLD=rope diameterD1

CADAcc.PriceOrder
B0092.11001Bwith crimp terminal1.4301bright-AluminiumbrightAluminiumbright1001,69,3 1.99 €
B0092.11501Bwith crimp terminal1.4301bright-AluminiumbrightAluminiumbright1501,69,3 2.22 €
B0092.12001Bwith crimp terminal1.4301bright-AluminiumbrightAluminiumbright2001,69,3 2.32 €
B0092.13001Bwith crimp terminal1.4301bright-AluminiumbrightAluminiumbright3001,69,3 2.59 €
B0092.15001Bwith crimp terminal1.4301bright-AluminiumbrightAluminiumbright5001,69,3 3.06 €
B0092.1100Bwith crimp terminal1.4301plastic covertransparentAluminiumbrightAluminiumbright1001,611,5 2.10 €
B0092.1150Bwith crimp terminal1.4301plastic covertransparentAluminiumbrightAluminiumbright1501,611,5 2.35 €
B0092.1200Bwith crimp terminal1.4301plastic covertransparentAluminiumbrightAluminiumbright2001,611,5 2.45 €
B0092.1300Bwith crimp terminal1.4301plastic covertransparentAluminiumbrightAluminiumbright3001,611,5 2.72 €
B0092.1500Bwith crimp terminal1.4301plastic covertransparentAluminiumbrightAluminiumbright5001,611,5 3.23 €
B0092.11002Bwith crimp terminal1.4301plastic covertransparentStainless steelbrightStainless steelbright1001,69,3 2.30 €
B0092.11502Bwith crimp terminal1.4301plastic covertransparentStainless steelbrightStainless steelbright1501,69,3 2.59 €
B0092.12002Bwith crimp terminal1.4301plastic covertransparentStainless steelbrightStainless steelbright2001,69,3 2.69 €
B0092.13002Bwith crimp terminal1.4301plastic covertransparentStainless steelbrightStainless steelbright3001,69,3 2.99 €
B0092.15002Bwith crimp terminal1.4301plastic covertransparentStainless steelbrightStainless steelbright5001,69,3 3.55 €
B0092.11004Bwith crimp terminal1.4401plastic covertransparentStainless steelbrightStainless steelbright1001,69,3 2.77 €
B0092.11504Bwith crimp terminal1.4401plastic covertransparentStainless steelbrightStainless steelbright1501,69,3 3.10 €
B0092.12004Bwith crimp terminal1.4401plastic covertransparentStainless steelbrightStainless steelbright2001,69,3 3.22 €
B0092.13004Bwith crimp terminal1.4401plastic covertransparentStainless steelbrightStainless steelbright3001,69,3 3.59 €
B0092.15004Bwith crimp terminal1.4401plastic covertransparentStainless steelbrightStainless steelbright5001,69,3 4.26 €
B0092.11003Bwith crimp terminal1.4301plastic coverblackStainless steel-Stainless steel-1001,69,3 2.72 €
B0092.11503Bwith crimp terminal1.4301plastic coverblackStainless steel-Stainless steel-1501,69,3 3.05 €
B0092.12003Bwith crimp terminal1.4301plastic coverblackStainless steel-Stainless steel-2001,69,3 3.17 €
B0092.13003Bwith crimp terminal1.4301plastic coverblackStainless steel-Stainless steel-3001,69,3 3.53 €
B0092.15003Bwith crimp terminal1.4301plastic coverblackStainless steel-Stainless steel-5001,69,3 4.18 €

Retaining cables Form C, with eyes both ends

More information

Drawings

Retaining cables Form C, with eyes both ends

Item selection/filter

Order No.FormForm definitionSteel keySurface finish
body
Main
colour
Material
Surface finishMaterial
Surface finishLD=rope diameterCADAcc.PriceOrder
B0092.21001Cwith eye1.4301bright-AluminiumbrightAluminiumbright1001,6 1.68 €
B0092.21501Cwith eye1.4301bright-AluminiumbrightAluminiumbright1501,6 1.86 €
B0092.22001Cwith eye1.4301bright-AluminiumbrightAluminiumbright2001,6 1.95 €
B0092.23001Cwith eye1.4301bright-AluminiumbrightAluminiumbright3001,6 2.05 €
B0092.25001Cwith eye1.4301bright-AluminiumbrightAluminiumbright5001,6 2.28 €
B0092.2100Cwith eye1.4301plastic covertransparentAluminiumbrightAluminiumbright1001,6 1.76 €
B0092.2150Cwith eye1.4301plastic covertransparentAluminiumbrightAluminiumbright1501,6 1.97 €
B0092.2200Cwith eye1.4301plastic covertransparentAluminiumbrightAluminiumbright2001,6 2.06 €
B0092.2300Cwith eye1.4301plastic covertransparentAluminiumbrightAluminiumbright3001,6 2.16 €
B0092.2500Cwith eye1.4301plastic covertransparentAluminiumbrightAluminiumbright5001,6 2.41 €
B0092.21002Cwith eye1.4301plastic covertransparentStainless steelbrightStainless steelbright1001,6 1.93 €
B0092.21502Cwith eye1.4301plastic covertransparentStainless steelbrightStainless steelbright1501,6 2.16 €
B0092.22002Cwith eye1.4301plastic covertransparentStainless steelbrightStainless steelbright2001,6 2.26 €
B0092.23002Cwith eye1.4301plastic covertransparentStainless steelbrightStainless steelbright3001,6 2.37 €
B0092.25002Cwith eye1.4301plastic covertransparentStainless steelbrightStainless steelbright5001,6 2.64 €
B0092.21004Cwith eye1.4401plastic covertransparentStainless steelbrightStainless steelbright1001,6 2.32 €
B0092.21504Cwith eye1.4401plastic covertransparentStainless steelbrightStainless steelbright1501,6 2.60 €
B0092.22004Cwith eye1.4401plastic covertransparentStainless steelbrightStainless steelbright2001,6 2.71 €
B0092.23004Cwith eye1.4401plastic covertransparentStainless steelbrightStainless steelbright3001,6 2.85 €
B0092.25004Cwith eye1.4401plastic covertransparentStainless steelbrightStainless steelbright5001,6 3.17 €
B0092.21003Cwith eye1.4301plastic coverblackStainless steel-Stainless steel-1001,6 2.22 €
B0092.21503Cwith eye1.4301plastic coverblackStainless steel-Stainless steel-1501,6 2.49 €
B0092.22003Cwith eye1.4301plastic coverblackStainless steel-Stainless steel-2001,6 2.60 €
B0092.23003Cwith eye1.4301plastic coverblackStainless steel-Stainless steel-3001,6 2.73 €
B0092.25003Cwith eye1.4301plastic coverblackStainless steel-Stainless steel-5001,6 3.04 €

Retaining cable Form D, with eye and strap

More information

Drawings

Retaining cable Form D, with eye and strap

Item selection/filter

Order No.FormForm definitionSteel keySurface finish
body
Main
colour
Material
Surface finishMaterial
Surface finishLD=rope diameterCADAcc.PriceOrder
B0092.31001Dwith eye and strap1.4301bright-AluminiumbrightAluminiumbright1001,6 2.00 €
B0092.31501Dwith eye and strap1.4301bright-AluminiumbrightAluminiumbright1501,6 2.25 €
B0092.32001Dwith eye and strap1.4301bright-AluminiumbrightAluminiumbright2001,6 2.34 €
B0092.33001Dwith eye and strap1.4301bright-AluminiumbrightAluminiumbright3001,6 2.46 €
B0092.35001Dwith eye and strap1.4301bright-AluminiumbrightAluminiumbright5001,6 2.73 €
B0092.31002Dwith eye and strap1.4301plastic covertransparentStainless steelbrightStainless steelbright1001,6 2.42 €
B0092.31502Dwith eye and strap1.4301plastic covertransparentStainless steelbrightStainless steelbright1501,6 2.49 €
B0092.32002Dwith eye and strap1.4301plastic covertransparentStainless steelbrightStainless steelbright2001,6 2.60 €
B0092.33002Dwith eye and strap1.4301plastic covertransparentStainless steelbrightStainless steelbright3001,6 2.73 €
B0092.35002Dwith eye and strap1.4301plastic covertransparentStainless steelbrightStainless steelbright5001,6 3.04 €
B0092.31004Dwith eye and strap1.4401plastic covertransparentStainless steelbrightStainless steelbright1001,6 3.64 €
B0092.31504Dwith eye and strap1.4401plastic covertransparentStainless steelbrightStainless steelbright1501,6 3.73 €
B0092.32004Dwith eye and strap1.4401plastic covertransparentStainless steelbrightStainless steelbright2001,6 3.90 €
B0092.33004Dwith eye and strap1.4401plastic covertransparentStainless steelbrightStainless steelbright3001,6 4.10 €
B0092.35004Dwith eye and strap1.4401plastic covertransparentStainless steelbrightStainless steelbright5001,6 4.55 €
B0092.31003Dwith eye and strap1.4301plastic coverblackStainless steel-Stainless steel-1001,6 2.85 €
B0092.31503Dwith eye and strap1.4301plastic coverblackStainless steel-Stainless steel-1501,6 2.94 €
B0092.32003Dwith eye and strap1.4301plastic coverblackStainless steel-Stainless steel-2001,6 3.06 €
B0092.33003Dwith eye and strap1.4301plastic coverblackStainless steel-Stainless steel-3001,6 3.22 €
B0092.35003Dwith eye and strap1.4301plastic coverblackStainless steel-Stainless steel-5001,6 3.58 €

Retaining cable Form E, with strap

More information

Drawings

Retaining cable Form E, with strap

Item selection/filter

Order No.FormForm definitionSteel keySurface finish
body
Main
colour
Material
Surface finishMaterial
Surface finishLD=rope diameterCADAcc.PriceOrder
B0092.41001Ewith strap1.4301bright-AluminiumbrightAluminiumbright1001,6 2.51 €
B0092.41501Ewith strap1.4301bright-AluminiumbrightAluminiumbright1501,6 2.58 €
B0092.42001Ewith strap1.4301bright-AluminiumbrightAluminiumbright2001,6 2.69 €
B0092.43001Ewith strap1.4301bright-AluminiumbrightAluminiumbright3001,6 2.83 €
B0092.45001Ewith strap1.4301bright-AluminiumbrightAluminiumbright5001,6 3.15 €
B0092.41002Ewith strap1.4301plastic covertransparentStainless steelbrightStainless steelbright1001,6 2.54 €
B0092.41502Ewith strap1.4301plastic covertransparentStainless steelbrightStainless steelbright1501,6 2.62 €
B0092.42002Ewith strap1.4301plastic covertransparentStainless steelbrightStainless steelbright2001,6 2.72 €
B0092.43002Ewith strap1.4301plastic covertransparentStainless steelbrightStainless steelbright3001,6 2.86 €
B0092.45002Ewith strap1.4301plastic covertransparentStainless steelbrightStainless steelbright5001,6 3.19 €
B0092.41004Ewith strap1.4401plastic covertransparentStainless steelbrightStainless steelbright1001,6 3.81 €
B0092.41504Ewith strap1.4401plastic covertransparentStainless steelbrightStainless steelbright1501,6 3.92 €
B0092.42004Ewith strap1.4401plastic covertransparentStainless steelbrightStainless steelbright2001,6 4.09 €
B0092.43004Ewith strap1.4401plastic covertransparentStainless steelbrightStainless steelbright3001,6 4.31 €
B0092.45004Ewith strap1.4401plastic covertransparentStainless steelbrightStainless steelbright5001,6 4.79 €
B0092.41003Ewith strap1.4301plastic coverblackStainless steel-Stainless steel-1001,6 3.00 €
B0092.41503Ewith strap1.4301plastic coverblackStainless steel-Stainless steel-1501,6 3.08 €
B0092.42003Ewith strap1.4301plastic coverblackStainless steel-Stainless steel-2001,6 3.22 €
B0092.43003Ewith strap1.4301plastic coverblackStainless steel-Stainless steel-3001,6 3.38 €
B0092.45003Ewith strap1.4301plastic coverblackStainless steel-Stainless steel-5001,6 3.76 €
Search
Shopping cart
Number of items: 0
Amount: 0.00  
Display
Speed ordering
Germany
Sitemap Print Top
Copyright © 2025 NORMTEILWERK ROBERT BLOHM GmbH. All rights reserved. Tel. +49 (0) 41 55 / 80 08-0 · Fax +49 (0) 41 55 / 81 11 31