- Product overview
- Drill bushes
 
- Spring plungers, locating pins, quick-release pins
 
- Machine and fixture components
 
- Locating elements, stop elements, support elements
 
- Clamping levers, tension levers, cam levers
 
- Handles and knobs
 
- Pull handles
 
- handwheel, crank handle
 
- Hinges
 
- Levelling feet
 
- toggle clamp, push-pull toggle clamp
 
- Clamping elements
 
- Joints
 
- Absorption units
 
- oil level sight glasses, screw plug, press-in plug
 
- Transport technology
 
  
- Special solutions
 
- Product news
 
   | 
 
	
 | 
	 | 
 B0085Locking pins, stainless steel with plastic grip and magnetic... | 
 go back |  
 
  | 
  
		
  
	
 Item description/product images | 
  |  
		
 
	
  | 
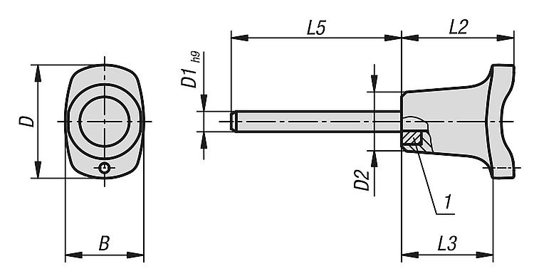
 DescriptionMaterial:Grip thermoplastic.  
Steel parts 1.4305 stainless steel. 
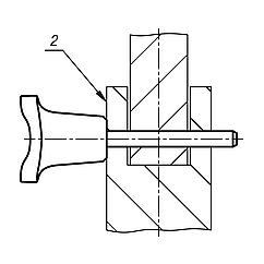
Magnet NdFeB. Version:Grip black. Stainless steel bright.Note:The locking pins with magnetic axial lock are used for fast and easy fixating and joining of parts and workpieces.  Magnets integrated into the grip ensure axial positioning and hold the locking pin in the inserted position.
  Smooth surfaces and a perpendicular insertion bore have a positive effect on the retaining forces. 
  Optional retainer systems can be used to make the locking pins captive.
  Shear force double-shear (F) = S · τ aB max.On request:Other pin lengths.Accessory:Safety spiral cable B0091.... Retaining cable with loop B0092.... Key ring B0090.... Ball chains B0093....Drawing reference:1) Magnet 2) Steel part/workpiece  Special features: DownloadHere is all the information as a PDF datasheet:
  Are you looking for CAD data? These can be found directly in the product table.
	  |  
		
   
	| Order No. | B | D     | D1 | D2 | L2 | L3 | L5 | Receiving  hole | Shearing force  double shear max.kN | Clamping  force  ca. N | CAD | Acc. | Price | Order | 
|---|
 | B0085.3306015 | 23 | 33,2 | 6 | 17,3 | 33 | 26,1 | 15 | 6 | 22 | 43 |   |  | 6.42 €  |  |  | B0085.3306030 | 23 | 33,2 | 6 | 17,3 | 33 | 26,1 | 30 | 6 | 22 | 43 |   |  | 6.78 €  |  |  | B0085.3306040 | 23 | 33,2 | 6 | 17,3 | 33 | 26,1 | 40 | 6 | 22 | 43 |   |  | 6.86 €  |  |  | B0085.3306050 | 23 | 33,2 | 6 | 17,3 | 33 | 26,1 | 50 | 6 | 22 | 43 |   |  | 7.01 €  |  |  | B0085.3306060 | 23 | 33,2 | 6 | 17,3 | 33 | 26,1 | 60 | 6 | 22 | 43 |   |  | 7.14 €  |  |  | B0085.3306070 | 23 | 33,2 | 6 | 17,3 | 33 | 26,1 | 70 | 6 | 22 | 43 |   |  | 7.26 €  |  |  | B0085.3306080 | 23 | 33,2 | 6 | 17,3 | 33 | 26,1 | 80 | 6 | 22 | 43 |   |  | 7.36 €  |  |  | B0085.3308015 | 23 | 33,2 | 8 | 17,3 | 33 | 26,1 | 15 | 8 | 38 | 43 |   |  | 6.59 €  |  |  | B0085.3308030 | 23 | 33,2 | 8 | 17,3 | 33 | 26,1 | 30 | 8 | 38 | 43 |   |  | 6.92 €  |  |  | B0085.3308040 | 23 | 33,2 | 8 | 17,3 | 33 | 26,1 | 40 | 8 | 38 | 43 |   |  | 7.12 €  |  |  | B0085.3308050 | 23 | 33,2 | 8 | 17,3 | 33 | 26,1 | 50 | 8 | 38 | 43 |   |  | 7.33 €  |  |  | B0085.3308060 | 23 | 33,2 | 8 | 17,3 | 33 | 26,1 | 60 | 8 | 38 | 43 |   |  | 7.54 €  |  |  | B0085.3308070 | 23 | 33,2 | 8 | 17,3 | 33 | 26,1 | 70 | 8 | 38 | 43 |   |  | 7.75 €  |  |  | B0085.3308080 | 23 | 33,2 | 8 | 17,3 | 33 | 26,1 | 80 | 8 | 38 | 43 |   |  | 7.95 €  |  |  | B0085.4610015 | 33 | 45,9 | 10 | 26,3 | 39,5 | 31,3 | 15 | 10 | 60 | 74 |   |  | 8.33 €  |  |  | B0085.4610030 | 33 | 45,9 | 10 | 26,3 | 39,5 | 31,3 | 30 | 10 | 60 | 74 |   |  | 8.73 €  |  |  | B0085.4610040 | 33 | 45,9 | 10 | 26,3 | 39,5 | 31,3 | 40 | 10 | 60 | 74 |   |  | 8.94 €  |  |  | B0085.4610050 | 33 | 45,9 | 10 | 26,3 | 39,5 | 31,3 | 50 | 10 | 60 | 74 |   |  | 9.15 €  |  |  | B0085.4610060 | 33 | 45,9 | 10 | 26,3 | 39,5 | 31,3 | 60 | 10 | 60 | 74 |   |  | 9.38 €  |  |  | B0085.4610070 | 33 | 45,9 | 10 | 26,3 | 39,5 | 31,3 | 70 | 10 | 60 | 74 |   |  | 9.61 €  |  |  | B0085.4610080 | 33 | 45,9 | 10 | 26,3 | 39,5 | 31,3 | 80 | 10 | 60 | 74 |   |  | 9.74 €  |  |  | B0085.4612030 | 33 | 45,9 | 12 | 26,3 | 39,5 | 31,3 | 30 | 12 | 86 | 74 |   |  | 8.98 €  |  |  | B0085.4612040 | 33 | 45,9 | 12 | 26,3 | 39,5 | 31,3 | 40 | 12 | 86 | 74 |   |  | 9.25 €  |  |  | B0085.4612050 | 33 | 45,9 | 12 | 26,3 | 39,5 | 31,3 | 50 | 12 | 86 | 74 |   |  | 9.49 €  |  |  | B0085.4612060 | 33 | 45,9 | 12 | 26,3 | 39,5 | 31,3 | 60 | 12 | 86 | 74 |   |  | 9.75 €  |  |  | B0085.4612070 | 33 | 45,9 | 12 | 26,3 | 39,5 | 31,3 | 70 | 12 | 86 | 74 |   |  | 10.27 €  |  |  | B0085.4612080 | 33 | 45,9 | 12 | 26,3 | 39,5 | 31,3 | 80 | 12 | 86 | 74 |   |  | 10.72 €  |  |   
 
	
 Other items in this category |  
		
   | 
    |