Product groups
Threaded inserts self-tapping with cutting slot
B0141

Threaded inserts self-tapping with cutting slot

go back

Item description/product images

DescriptionMaterial:

Steel or 1.4305 stainless steel.

Version:Steel case hardened, electro zinc-plated.
Stainless steel bright.
Note:Self-tapping threaded inserts for making high-strength, wear-free, vibration resistant screw connections in materials with low shear strength such as aluminium and aluminium alloys, brass, bronze, cast iron, duro and thermoplastics.

The threaded inserts are tapered at the bottom and have a cutting slot. By screwing in they cut their own threads inside a receiver hole. This guarantees a completely secure and firm anchoring in the host material.

Internal thread D1 acc. to ISO 6H.

The threaded inserts with cutting slot spring slightly inwards in the slot region in some materials. This results in a screw locking effect. If this is not desired, we recommend the threaded inserts with a cutting bore.
Special features:
RoHS
DownloadHere is all the information as a PDF datasheet:

Are you looking for CAD data? These can be found directly in the product table.
 Datasheet B0141 Threaded inserts self-tapping with cutting slot 279 kB
 BLOHM_TH_003_Gewindeeinsaetze_selbstschneidend_DE 371 kB

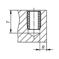
Drawings

Threaded inserts self-tapping with cutting slot

Item selection/filter

Order No.

Main
material
D1
internal
thread
D2L
length
PT
min.
R min.
light metal
R min.
cast iron
R min.
plastics
Order No.
Hand ass. tool
Order No.
M/C ass. tool
CADAcc.PriceOrder
B0141.03steelM3560,5811,51,25B0142.803B0142.903 0.33 €
B0141.04steelM46,580,75101,31,951,6B0142.804B0142.904 0.39 €
B0141.05steelM58101131,62,42B0142.805B0142.905 0.39 €
B0141.06steelM610141,517232,5B0142.806B0142.906 0.46 €
B0141.08steelM812151,5182,43,63B0142.808B0142.908 0.62 €
B0141.10steelM1014181,5222,84,23,5B0142.810B0142.910 0.73 €
B0141.12steelM1216221,5263,24,84B0142.812B0142.912 1.00 €
B0141.16steelM1620221,527465-B0142.916 2.89 €
B0141.103stainless steelM3560,5811,51,25B0142.803B0142.903 1.16 €
B0141.104stainless steelM46,580,75101,31,951,6B0142.804B0142.904 1.40 €
B0141.105stainless steelM58101131,62,42B0142.805B0142.905 1.53 €
B0141.106stainless steelM610141,517232,5B0142.806B0142.906 1.39 €
B0141.108stainless steelM812151,5182,43,63B0142.808B0142.908 1.93 €
B0141.110stainless steelM1014181,5222,84,23,5B0142.810B0142.910 2.72 €
B0141.112stainless steelM1216221,5263,24,84B0142.812B0142.912 3.28 €
B0141.116stainless steelM1620221,527465-B0142.916 6.61 €
Search
Shopping cart
Number of items: 0
Amount: 0.00  
Display
Speed ordering
Germany
Sitemap Print Top
Copyright © 2025 NORMTEILWERK ROBERT BLOHM GmbH. All rights reserved. Tel. +49 (0) 41 55 / 80 08-0 · Fax +49 (0) 41 55 / 81 11 31